欢迎来到知嘟嘟! 联系电话:13336804447 卖家免费入驻,海量在线求购! 卖家免费入驻,海量在线求购!
知嘟嘟
我要发布
联系电话:13336804447
知嘟嘟经纪人
收藏
专利号: 2020210143318
申请人: 苏州中晟筑远建设发展有限公司
专利类型:实用新型
专利状态:已下证
专利领域: 测量;测试
更新日期:2024-06-17
缴费截止日期: 暂无
价格&联系人
年费信息
委托购买

摘要:

权利要求书:

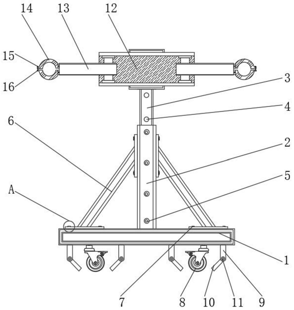
1.一种建筑栏杆水平承载力检测装置,包括底座(1)和伸缩套(12),其特征在于:所述底座(1)的上方设置有升降套(2),且升降套(2)的上方安装有升降杆(3),所述升降杆(3)的前方外壁均开设有多个第一限位孔(4),且第一限位孔(4)与第一限位块(5)的外壁配合安装,同时第一限位块(5)安装在升降套(2)的前方外壁,所述升降套(2)的两侧外壁均安装有支撑杆(6),且支撑杆(6)通过固定螺栓(7)与升降套(2)相连接,所述升降套(2)的下方两侧均安装有轮子(8),且轮子(8)的两侧均安装有固定杆(9),所述固定杆(9)的下方安装有旋转杆(10),且旋转杆(10)通过螺纹轴(11)与固定杆(9)相连接,所述伸缩套(12)安装在升降杆(3)的上方,且伸缩套(12)的两侧均安装有伸缩杆(13),所述伸缩杆(13)的一侧安装有卡箍(14),且卡箍(14)的一侧上方外壁安装有第二限位块(15),所述第二限位块(15)的外壁与第二限位孔(16)配合安装,且第二限位孔(16)开设在卡箍(14)的一侧下方外壁表面。

2.根据权利要求1所述的一种建筑栏杆水平承载力检测装置,其特征在于:所述升降套(2)通过升降杆(3)与底座(1)构成升降结构,且升降套(2)的尺寸大于升降杆(3)的尺寸。

3.根据权利要求1所述的一种建筑栏杆水平承载力检测装置,其特征在于:所述第一限位孔(4)与第一限位块(5)卡合连接,且第一限位块(5)在升降套(2)上呈等间距设置。

4.根据权利要求1所述的一种建筑栏杆水平承载力检测装置,其特征在于:所述支撑杆(6)与固定螺栓(7)螺纹连接,且支撑杆(6)以升降套(2)的中轴线对称设置。

5.根据权利要求1所述的一种建筑栏杆水平承载力检测装置,其特征在于:所述旋转杆(10)通过螺纹轴(11)与固定杆(9)构成旋转结构,且旋转杆(10)以轮子(8)的中轴线对称设置。

6.根据权利要求1所述的一种建筑栏杆水平承载力检测装置,其特征在于:所述伸缩套(12)通过伸缩杆(13)与卡箍(14)构成伸缩结构,且伸缩套(12)的尺寸大于伸缩杆(13)的尺寸。

7.根据权利要求1所述的一种建筑栏杆水平承载力检测装置,其特征在于:所述第二限位块(15)通过第二限位孔(16)与卡箍(14)卡合连接,且卡箍(14)为圆环形结构。