欢迎来到知嘟嘟! 联系电话:13095918853 卖家免费入驻,海量在线求购! 卖家免费入驻,海量在线求购!
知嘟嘟
我要发布
联系电话:13095918853
知嘟嘟经纪人
收藏
专利号: 2020212932046
申请人: 宋婕
专利类型:实用新型
专利状态:已下证
专利领域: 装订;图册;文件夹;特种印刷品
更新日期:2024-11-28
缴费截止日期: 暂无
价格&联系人
年费信息
委托购买

摘要:

权利要求书:

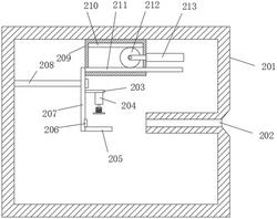
1.一种酒店管理用房卡收纳装置,包括安装板(1)和单元收纳装置(2),其特征在于,所述单元收纳装置(2)包括第一壳体(201),所述第一壳体(201)的侧边设置有插卡口(202),所述第一壳体(201)的内部通过快速推送装置安装有移动板(207),所述移动板(207)的侧边固定有第一固定板(203),所述第一固定板(203)的底部安装有压卡装置(204),所述移动板(207)的侧边安装有感应开关(206),所述移动板(207)的侧边固定有第二固定板(205)。

2.根据权利要求1所述的一种酒店管理用房卡收纳装置,其特征在于,所述安装板(1)的侧边安装有操控板(3),所述操控板(3)的侧边安装有按钮(4),所述按钮(4)与单元收纳装置(2)一一对应。

3.根据权利要求1所述的一种酒店管理用房卡收纳装置,其特征在于,所述快速推送装置包括第二壳体(209),所述第二壳体(209)的内壁固定有第一齿条(210),所述第二壳体(209)的侧边滑动贯穿有第二齿条(211),所述第二齿条(211)的一端与移动板(207)固定,所述第二壳体(209)的侧边安装有第一气缸(213),所述第一气缸(213)的活塞杆的末端通过转轴转动安装有齿轮(212)。

4.根据权利要求3所述的一种酒店管理用房卡收纳装置,其特征在于,所述齿轮(212)分别与第一齿条(210)、第二齿条(211)啮合传动。

5.根据权利要求1所述的一种酒店管理用房卡收纳装置,其特征在于,所述第一壳体(201)的内壁上固定有滑杆(208),所述滑杆(208)滑动贯穿移动板(207)。

6.根据权利要求1所述的一种酒店管理用房卡收纳装置,其特征在于,所述压卡装置(204)包括第二气缸(2041),所述第二气缸(2041)的活塞杆固定有滑块(2042),所述滑块(2042)的外部滑动套接有套筒(2045),所述滑块(2042)与套筒(2045)之间连接有弹簧(2043),所述套筒(2045)的底部固定有压板(2044)。