欢迎来到知嘟嘟! 联系电话:13336804447 卖家免费入驻,海量在线求购! 卖家免费入驻,海量在线求购!
知嘟嘟
我要发布
联系电话:13336804447
知嘟嘟经纪人
收藏
专利号: 2022225568358
申请人: 上海贯川流体科技有限公司
专利类型:实用新型
专利状态:已下证
专利领域: 液体变容式机械;液体泵或弹性流体泵
更新日期:2024-02-23
缴费截止日期: 暂无
价格&联系人
年费信息
委托购买

摘要:

权利要求书:

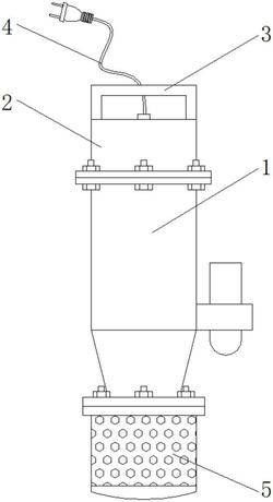
1.一种具有减少叶轮磨损结构的潜卤泵,包括潜卤泵主体,所述潜卤泵主体包括主壳体(1)、上壳体(2)、下壳体(5)和电机(7),所述上壳体(2)顶部固定安装有把手(3),所述上壳体(2)与主壳体(1)上端通过法兰环固定连接,所述下壳体(5)与主壳体(1)底部通过法兰环固定连接,所述电机(7)固定安装在上壳体(2)内部,所述上壳体(2)外部还固定安装有与电机(7)电连接的电源线(4),所述上壳体(2)内部设有用于对电机(7)进行密封的密封罩,所述电机(7)输出轴固定连接有转轴(8),所述转轴(8)表面罩设有密封套(9),且所述转轴(8)位于主壳体(1)内部的一端套接有叶轮(10),其特征在于,所述下壳体(5)表面开设有滤网孔,且所述下壳体(5)内部还设有用于对水进行过滤的过滤组件(6);

所述过滤组件(6)包括差速器(61)、转杆(62)、活动罩(63)、凸条(65)和凸块(66),所述差速器(61)与转轴(8)底部固定连接,所述转杆(62)与差速器(61)另一端固定连接,所述活动罩(63)滑动套设在转杆(62)底部,且所述转杆(62)位于活动罩(63)内部的一端套设有弹簧(64),所述下壳体(5)内部顶端固定安装有固定杆,所述固定杆呈水平设置,所述凸块(66)固定安装在固定杆底部,所述凸条(65)固定安装在活动罩(63)顶部位置处,所述活动罩(63)为滤网构造,且所述活动罩(63)网孔尺寸小于下壳体(5)表面网孔尺寸。

2.根据权利要求1所述的一种具有减少叶轮磨损结构的潜卤泵,其特征在于,所述活动罩(63)顶部中间位置开设有通孔,所述转杆(62)底部固定连接有棱柱(621),所述棱柱(621)滑动插接在通孔内,所述通孔具体为矩形孔构造。

3.根据权利要求1所述的一种具有减少叶轮磨损结构的潜卤泵,其特征在于,所述凸条(65)具体为扇环型构造,且所述凸条(65)一侧开设有斜面倒角。

4.根据权利要求1所述的一种具有减少叶轮磨损结构的潜卤泵,其特征在于,所述转杆(62)、活动罩(63)具体为不锈钢材质制成,且所述转杆(62)、活动罩(63)以及叶轮(10)表面镀有铬层。

5.根据权利要求1‑4任一项所述的一种具有减少叶轮磨损结构的潜卤泵,其特征在于,所述活动罩(63)对称固定设有两个清扫刷,所述清扫刷与下壳体(5)内壁抵接。