欢迎来到知嘟嘟! 联系电话:13336804447 卖家免费入驻,海量在线求购! 卖家免费入驻,海量在线求购!
知嘟嘟
我要发布
联系电话:13336804447
知嘟嘟经纪人
收藏
专利号: 2017109668712
申请人: 杭州电子科技大学
专利类型:发明专利
专利状态:已下证
专利领域: 液体变容式机械;液体泵或弹性流体泵
更新日期:2024-01-05
缴费截止日期: 暂无
价格&联系人
年费信息
委托购买

摘要:

权利要求书:

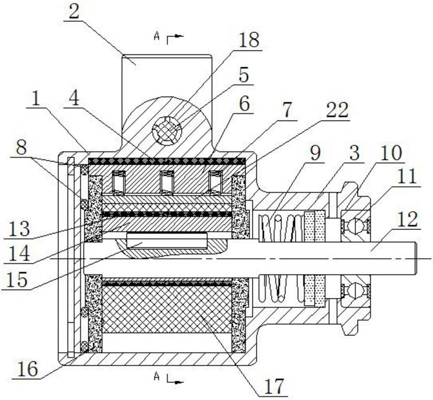
1.减少转子磨损的净水泵,其特征在于:包括泵体(1)、引流管(2)、轴管(3)、隔板垫块(4)、阀芯(5)、隔板(6)、弹簧(7)、轴承(11)、轴(12)、转子内套(13)、偏心块(14)、配流盘(16)、转子(17)、滚动体(22)和泄压阀(24);所述泵体(1)上端设有引流管(2),泵体(1)右端设有轴管(3);所述泵体(1)上端中部设有引流管连通孔(18),引流管连通孔(18)内设有阀芯(5),阀芯(5)前端设有泄压阀(24);所述轴管(3)内部设有轴(12),轴(12)上通过键(15)连接有偏心块(14),偏心块(14)外侧连接有转子内套(13),转子内套(13)外侧连接有转子(17),转子(17)上端中部设有滚动体(22),滚动体(22)中部设有隔板(6),所述隔板(6)为上端圆柱体、下端方形体的组合体,隔板(6)下端设有盲孔(28),盲孔(28)内设有弹簧(7),弹簧(7)下端与滚动体(22)相接触;所述隔板(6)上端开有方形槽(27),方形槽(27)内配合有隔板垫块(4);所述转子(17)两端设有配流盘(16),配流盘(16)与泵体(1)之间设有密封圈(8);所述轴管(3)右端内部设有管内凸起结构(10),管内凸起结构(10)处过盈配合有轴承(11),轴承(11)内圈过盈配合有轴(12),轴承(11)左侧的轴(12)上设有机械密封组件(9);

所述泵体(1)与轴管(3)连接处设有第一引压槽(23),通过第一引压槽(23)将压力液体引到轴管(3),所述第一引压槽(23)为圆形与矩形组合形状的槽口结构,第一引压槽(23)的矩形部分向引流管(2)倾斜。

2.如权利要求1所述的减少转子磨损的净水泵,其特征在于:所述引流管(2)数量为2

个,引流管(2)内壁底部设有引流槽(21),引流槽(21)为圆弧形槽;所述引流管(2)一侧设有通孔(25),通孔(25)处配合有螺帽(26)。

3.如权利要求1所述的减少转子磨损的净水泵,其特征在于:所述引流管(2)内壁上设

有内螺纹(32),引流管(2)通过内螺纹(32)外接管道。

4.如权利要求1所述的减少转子磨损的净水泵,其特征在于:所述密封圈(8)为O型密封圈,所述机械密封组件(9)包括密封弹簧、密封垫,所述配流盘(16)为石墨配流盘。

5.如权利要求1所述的减少转子磨损的净水泵,其特征在于:所述偏心块(14)中部开有圆形与矩形组合形状的通孔;所述转子(17)表面开有环形槽,环形槽宽度为2‑4mm,环形槽深度为2‑3mm。

6.如权利要求1所述的减少转子磨损的净水泵,其特征在于:所述转子(17)上端中部设有滚动体槽(29),滚动体槽(29)内配合有滚动体(22)。

7.如权利要求1所述的减少转子磨损的净水泵,其特征在于:所述滚动体(22)中部纵向设有隔板槽(31),隔板槽(31)内配合有隔板(6),隔板槽(31)与隔板(6)下端方形体宽度相一致;所述隔板槽(31)底部与隔板(6)之间距离为1‑1.5mm;所述滚动体(22)左侧设有2个第二引压槽(30)。