欢迎来到知嘟嘟! 联系电话:13336804447 卖家免费入驻,海量在线求购! 卖家免费入驻,海量在线求购!
知嘟嘟
我要发布
联系电话:13336804447
知嘟嘟经纪人
收藏
专利号: 2022220322351
申请人: 南通佳润精密科技有限公司
专利类型:实用新型
专利状态:已下证
专利领域: 工程元件或部件;为产生和保持机器或设备的有效运行的一般措施;一般绝热
更新日期:2024-11-14
缴费截止日期: 暂无
价格&联系人
年费信息
委托购买

摘要:

权利要求书:

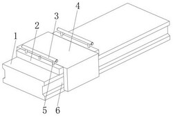
1.一种具有精度调节功能的直线导轨,包括滑轨(1)和滑槽(6),所述滑轨(1)的外壁左右两侧均开设有滑槽(6),其特征在于:所述滑轨(1)的外壁滑动连接有滑块(4),所述滑块(4)的前后两侧面均固定连接有防护罩(2),所述防护罩(2)的内壁顶部固定安装有空腔调节块(8),所述空腔调节块(8)的内壁设置有调节杆(5),所述调节杆(5)的顶部固定连接有横杆(3),所述调节杆(5)的底部固定连接有润滑罩(12),所述润滑罩(12)的外壁与防护罩(2)的内壁滑动连接;

所述滑块(4)的内部开设有调节槽(20),所述调节槽(20)的内壁滑动连接有滑移块(21),所述滑移块(21)的侧面铰接有连接杆(19)。

2.根据权利要求1所述的一种具有精度调节功能的直线导轨,其特征在于:所述防护罩(2)的内壁顶部固定安装有储油盒(9),所述储油盒(9)的顶部固定连接有进油管(7),所述进油管(7)的顶部贯穿防护罩(2)的外壁,所述储油盒(9)的底部固定连接有输油管(10),所述储油盒(9)的底部固定连接有输油管(10),所述输油管(10)的底端贯穿润滑罩(12)的内壁,所述润滑罩(12)的内壁顶部固定安装有分流管(11),所述输油管(10)的底端与分流管(11)的外壁固定连接。

3.根据权利要求2所述的一种具有精度调节功能的直线导轨,其特征在于:所述润滑罩(12)的内壁转动连接有润滑辊(13),所述润滑辊(13)的位于分流管(11)的正下方,所述润滑辊(13)位于滑轨(1)的正上方。

4.根据权利要求1所述的一种具有精度调节功能的直线导轨,其特征在于:所述调节杆(5)的外壁开设有凹槽(14),所述凹槽(14)的内壁固定连接有第一弹簧(16),所述第一弹簧(16)的另一端固定连接有活动卡块(15),所述空腔调节块(8)的内壁开设有球形槽,所述活动卡块(15)的外壁与球形槽的内壁相适配。

5.根据权利要求1所述的一种具有精度调节功能的直线导轨,其特征在于:所述连接杆(19)的另一端铰接有安装板(18),所述安装板(18)的侧面固定连接有引导轮(17),所述引导轮(17)的外壁与滑槽(6)的内壁转动连接。

6.根据权利要求1所述的一种具有精度调节功能的直线导轨,其特征在于:所述连接杆(19)的外壁固定连接有第二弹簧(22),所述连接杆(19)和滑移块(21)均位于第二弹簧(22)的两端对称设置。