欢迎来到知嘟嘟! 联系电话:13336804447 卖家免费入驻,海量在线求购! 卖家免费入驻,海量在线求购!
知嘟嘟
我要发布
联系电话:13336804447
知嘟嘟经纪人
收藏
专利号: 2014107469034
申请人: 金丽丹
专利类型:发明专利
专利状态:已下证
专利领域: 磨削;抛光
更新日期:2026-03-16
缴费截止日期: 暂无
价格&联系人
年费信息
委托购买

摘要:

权利要求书:

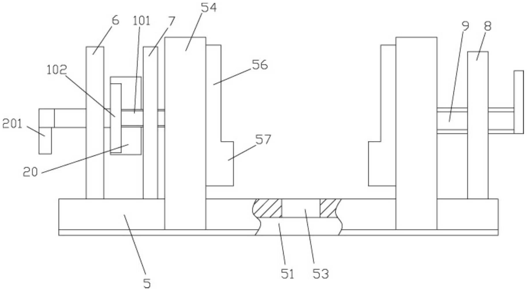
1.一种机床轨道具有纵向移动的工件夹持装置,包括纵向调节底盘(5),其特征在于:

所述纵向调节底盘(5)的底部具有底部滑槽(51),底部滑槽(51)的一侧壁具有纵向固定螺孔(52),纵向调节底盘(5)的中部具有腰形通槽(53),纵向调节底盘(5)上设有两个调节夹持块(54),两个调节夹持块(54)在腰形通槽(53)的两侧,调节夹持块(54)的底部具有主凹槽(55),纵向调节底盘(5)的上部插套在主凹槽(55)中;

纵向调节底盘(5)的左侧上部固定有第一主支撑板(6)和第二主支撑板(7),第二主支撑板(7)靠近左侧的调节夹持块(54),纵向调节底盘(5)的右侧上部固定有第三主支撑板(8),至少两个纵向调节螺杆(9)螺接在第三支撑板(8)上,纵向调节螺杆(9)的右端伸出第三主支撑板(8)并固定有转动部(91),纵向调节螺杆(9)的左端伸出第三主支撑板(8)并铰接在右侧的调节夹持块(54)的右侧壁上;

两个调节齿轮螺杆(10)螺接在第二主支撑板(6)上,调节齿轮螺杆(10)的螺杆部(101)的端部铰接在左侧的调节夹持块(54)的左侧壁上,调节齿轮螺杆(10)的齿轮部(102)在第一主支撑板(6)和第二主支撑板(7)之间,中部调节齿轮(20)在第一主支撑板(6)和第二主支撑板(7)之间,中部调节齿轮(20)的两端中部具有铰接轴,铰接轴铰接在第一主支撑板(6)和第二主支撑板(7)上,中部调节齿轮(20)与其两侧的两个调节齿轮螺杆(10)的齿轮部(102)相啮合,中部调节齿轮(20)的一端的铰接轴伸出第一主支撑板(6)并固定有手部扳动部(201)。

2.根据权利要求1所述的一种机床轨道具有纵向移动的工件夹持装置,其特征在于:

所述两个调节夹持块(54)相对的一侧壁上固定有弹性夹持块(56)。

3.根据权利要求2所述的一种机床轨道具有纵向移动的工件夹持装置,其特征在于:

所述两个弹性夹持块(56)的相对的一侧壁的底部具有凸起部(57)。

4.根据权利要求3所述的一种机床轨道具有纵向移动的工件夹持装置,其特征在于:

所述调节齿轮螺杆(10)包括螺杆部(101)和齿轮部(102),齿轮部(102)在螺杆部(101)的左端。

5.根据权利要求4所述的一种机床轨道具有纵向移动的工件夹持装置,其特征在于:

所述中部调节齿轮(20)的长度为齿轮部(102)的两倍以上。

我要求购
我不想找了,帮我找吧
您有专利需要变现?
我要出售
智能匹配需求,快速出售