欢迎来到知嘟嘟! 联系电话:13336804447 卖家免费入驻,海量在线求购! 卖家免费入驻,海量在线求购!
知嘟嘟
我要发布
联系电话:13336804447
知嘟嘟经纪人
收藏
专利号: 2022218321863
申请人: 张嘉森
专利类型:实用新型
专利状态:已下证
专利领域: 道路、铁路或桥梁的建筑
更新日期:2023-11-20
缴费截止日期: 暂无
价格&联系人
年费信息
委托购买

摘要:

权利要求书:

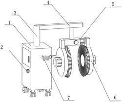
1.一种道路桥梁护栏清洗养护装置,其特征在于,包括:清洗箱主体(1),所述清洗箱主体(1)的内部固定连接有隔板,所述隔板的顶部与清洗箱主体(1)的前端面之间设置有冲刷机构(7),所述冲刷机构(7)用于对护栏进行喷淋清洗,所述清洗箱主体(1)的一侧设置有灌水口(2),所述清洗箱主体(1)的顶部设置有升降机构(3),所述升降机构(3)的顶部连接有固定支架(4),所述升降机构(3)用于调整固定支架(4)的高度,所述固定支架(4)的底部固定连接有竖杆,所述竖杆远离升降机构(3),所述竖杆的底端固定连接有水平移动机构(5),所述水平移动机构(5)上设置有两个电动毛刷(6),所述水平移动机构(5)用于调整两个电动毛刷(6)之间的距离。

2.根据权利要求1所述的一种道路桥梁护栏清洗养护装置,其特征在于,所述水平移动机构(5)包括装置外壳(501)、两个滑动块(502)和中空滑块(503),所述装置外壳(501)固定连接在竖杆的底端,所述装置外壳(501)内壁的顶部和底部均开设有滑槽,两个所述滑动块(502)分别滑动连接在两个滑槽的内部,所述中空滑块(503)固定连接在两个滑动块(502)的相对面之间,所述中空滑块(503)的一端延伸出装置外壳(501)的外部,其中一个所述电动毛刷(6)固定连接在装置外壳(501)的一侧,其中另一个所述电动毛刷(6)固定连接在中空滑块(503)的一端。

3.根据权利要求2所述的一种道路桥梁护栏清洗养护装置,其特征在于,所述水平移动机构(5)还包括齿条(504)、齿轮(505)和电机(506),所述齿条(504)设置在中空滑块(503)内壁的底部,所述电机(506)设置在装置外壳(501)的前端面,所述电机(506)的输出轴延伸至中空滑块(503)内部,所述齿轮(505)与电机(506)输出轴连接,且齿轮(505)与齿条(504)啮合。

4.根据权利要求3所述的一种道路桥梁护栏清洗养护装置,其特征在于,所述升降机构(3)包括壳体(301)和气缸(302),所述壳体(301)固定连接在清洗箱主体(1)的顶部,所述气缸(302)设置在壳体(301)的内部,所述气缸(302)的输出轴与固定支架(4)的底部连接。

5.根据权利要求4所述的一种道路桥梁护栏清洗养护装置,其特征在于,所述冲刷机构(7)包括水泵(701)、水管(702)、水枪头(703)和挂钩(704),所述水泵(701)设置在隔板的顶部,所述水泵(701)的输入端贯穿隔板并延伸至隔板的底部,所述水泵(701)的输出端延伸至清洗箱主体(1)的外部,所述水管(702)的一端与水泵(701)的输出端连接,所述水枪头(703)连接在水管(702)的另一端,所述挂钩(704)连接在清洗箱主体(1)的前端面,所述水枪头(703)活动卡接在挂钩(704)的内部。

6.根据权利要求5所述的一种道路桥梁护栏清洗养护装置,其特征在于,所述清洗箱主体(1)的底部设置有四个滑轮,且四个滑轮分别位于清洗箱主体(1)底部的四个夹角处。