欢迎来到知嘟嘟! 联系电话:13336804447 卖家免费入驻,海量在线求购! 卖家免费入驻,海量在线求购!
知嘟嘟
我要发布
联系电话:13336804447
知嘟嘟经纪人
收藏
专利号: 2020214201806
申请人: 李函
专利类型:实用新型
专利状态:已下证
专利领域: 道路、铁路或桥梁的建筑
更新日期:2024-02-29
缴费截止日期: 暂无
价格&联系人
年费信息
委托购买

摘要:

权利要求书:

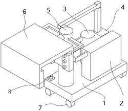
1.一种道路桥梁护栏清洗养护装置,包括底板(1)、水箱(2)、油箱(3)、风箱(4)、清洗机构(6)和固定柱(5),其特征在于:所述底板(1)的上表面与水箱(2)、固定柱(5)、风箱(4)和油箱(3)连接,所述固定柱(5)表面设置有出水孔、出风孔和出油孔,所述出水孔、出风孔和出油孔均为管状结构,所述油箱(3)内部设有油泵(301),所述风箱(4)内部设置有鼓风机(401),所述水箱(2)内部设置有水泵(201),所述固定柱(5)侧表面通过连接板与清洗机构(6)连接;

所述清洗机构(6)包括安装板、喷水柱(601)、干燥机构(602)和油刷(603),所述安装板为“n”形板结构,所述喷水柱(601)、干燥机构(602)、油刷(603)形状与安装板相适应,所述喷水柱(601)内侧表面设有若干喷头(6011),所述喷头(6011)与出水孔的一端通过导管连接;

所述干燥机构(602)为管体结构,所述干燥机构(602)内侧设置有若干通风口(6021),两相邻所述通风口(6021)之间贴附有擦拭布(6022),所述干燥机构(602)与出风孔的一端连接;

所述油刷(603)为管状结构,所述油刷(603)周侧面包裹有海绵,所述油刷(603)的表面设置有进油孔,所述海绵贴附在油刷的进油孔上表面,所述油刷(603)的进油孔与出油孔的一端通过导管连接。

2.根据权利要求1所述的一种道路桥梁护栏清洗养护装置,其特征在于:所述水泵(201)出水口与出水孔的另一端通过导管连接。

3.根据权利要求1所述的一种道路桥梁护栏清洗养护装置,其特征在于:所述油泵(301)出油口与出油孔的另一端通过导管连接。

4.根据权利要求1所述的一种道路桥梁护栏清洗养护装置,其特征在于:所述底板(1)的底部四角均设有滚轮(7)。

5.根据权利要求1所述的一种道路桥梁护栏清洗养护装置,其特征在于:所述鼓风机(401)的出风口与出风孔的另一端通过导管连接,所述鼓风机(401)的出风口处设置有加热丝。

6.根据权利要求1所述的一种道路桥梁护栏清洗养护装置,其特征在于:所述道路桥梁护栏清洗养护装置还包括蓄电池和开关(8),所述蓄电池通过开关(8)分别与水泵(201)、油泵(301)、鼓风机(401)电性连接。