欢迎来到知嘟嘟! 联系电话:13336804447 卖家免费入驻,海量在线求购! 卖家免费入驻,海量在线求购!
知嘟嘟
我要发布
联系电话:13336804447
知嘟嘟经纪人
收藏
专利号: 2022215058857
申请人: 淄博尚晨轻工制品有限公司
专利类型:实用新型
专利状态:已下证
专利领域: 家具;家庭用的物品或设备;咖啡磨;香料磨;一般吸尘器
更新日期:2024-08-09
缴费截止日期: 暂无
价格&联系人
年费信息
委托购买

摘要:

权利要求书:

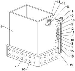
1.一种壁挂式玻璃花瓶,包括固定板(1),所述固定板(1)的背面设置有胶粘结构,其特征在于:所述固定板(1)的正面设置有固定条(2),所述固定条(2)上开设有固定槽(3),所述固定板(1)的前面设置有花瓶本体(4),所述花瓶本体(4)的正面凸出且背面平整,所述花瓶本体(4)的背面配合固定槽(3)设置有固定块(5),所述固定块(5)和固定条(2)之间设置有锁紧结构(6),所述花瓶本体(4)的底端设置有防摔胶套(7),且所述花瓶本体(4)的侧壁顶端连通内部设置有添水管(8),且所述花瓶本体(4)的一侧配合添水管(8)设置有添水斗(9)。

2.根据权利要求1所述的一种壁挂式玻璃花瓶,其特征在于:所述锁紧结构(6)包括设置在固定条(2)上的安装轴(10),所述安装轴(10)上设置有锁紧环(11),所述锁紧环(11)上设置有锁紧凸起(12)。

3.根据权利要求1所述的一种壁挂式玻璃花瓶,其特征在于:所述添水管(8)处设置有密封帽(13),所述密封帽(13)的侧壁上设置有防滑纹(14)。

4.根据权利要求1所述的一种壁挂式玻璃花瓶,其特征在于:所述胶粘结构包括胶粘层(15),所述胶粘层(15)的外侧可撕开设置有密封层(16)。

5.根据权利要求3所述的一种壁挂式玻璃花瓶,其特征在于:所述添水斗(9)包括斗体(17),所述斗体(17)的底端连通设置有注液管(18),所述注液管(18)的外径小于添水管(8)的内径。

6.根据权利要求1所述的一种壁挂式玻璃花瓶,其特征在于:所述固定条(2)的下方设置有支撑条(19)。

7.根据权利要求6所述的一种壁挂式玻璃花瓶,其特征在于:所述防摔胶套(7)上均匀设置有多个防摔凸起(20)。