欢迎来到知嘟嘟! 联系电话:13336804447 卖家免费入驻,海量在线求购! 卖家免费入驻,海量在线求购!
知嘟嘟
我要发布
联系电话:13336804447
知嘟嘟经纪人
收藏
专利号: 202221306330X
申请人: 河南东大科技股份有限公司
专利类型:实用新型
专利状态:已下证
专利领域: 一般的物理或化学的方法或装置
更新日期:2024-02-28
缴费截止日期: 暂无
价格&联系人
年费信息
委托购买

摘要:

权利要求书:

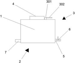
1.一种铝土矿选矿用矿浆筛分装置,包括箱体(1),其特征在于:所述箱体(1)的背面设置有箱门,所述箱体(1)内设置有筛分机构(2);

筛分机构(2)包括:

盛接槽(201),固定安装在所述箱体(1)的内壁底部,且槽口朝上;

机箱(202),固定安装在所述盛接槽(201)的内壁底部,且内部设置有电机;

防水圈(203),固定连接在所述机箱(202)的外壁顶部;

转轴(204),一端与所述电机的输出端通过联轴器固定连接,且另一端依次活动贯穿机箱(202)的顶部、防水圈(203)的圆心,并向上继续延伸;

摇臂(205),一端与所述转轴(204)的延伸端固定连接;

滑轮(206),固定安装在所述摇臂(205)的另一端上;

四个半环(207),分别依次设置在所述箱体(1)的内壁两侧;

四个拉簧(208),两端均设置有扣环,且一端分别通过扣环扣接在四个半环(207)上;

四个所述拉簧(208)的另一端之间设置有圆框(210),且所述圆框(210)的外壁两侧依次设置有四个卡勾(209),并分别通过卡勾(209)勾在四个拉簧(208)另一端的扣环上。

2.根据权利要求1所述的一种铝土矿选矿用矿浆筛分装置,其特征在于:所述滑轮(206)滑动连接在圆框(210)的内壁,所述圆框(210)的内壁之间设置有过滤网。

3.根据权利要求2所述的一种铝土矿选矿用矿浆筛分装置,其特征在于:所述箱体(1)上设置有刮除机构(3);

箱体(1)的内壁顶部设置有轴承;

刮除机构(3)包括:

转杆(301),一端与所述轴承的内壁转动连接并活动贯穿至箱体(1)的顶部外侧,且另一端向箱体(1)的内部继续延伸;

握把(302),一端与所述转杆(301)的贯穿端外壁固定连接;

刮板(303),一端与所述转杆(301)的延伸端外壁固定连接,且刮板(303)的底部与过滤网贴合。

4.根据权利要求1所述的一种铝土矿选矿用矿浆筛分装置,其特征在于:所述箱体(1)的顶部设置有进料口(4),且进料口(4)的底端固定贯穿至箱体(1)的内部。

5.根据权利要求1所述的一种铝土矿选矿用矿浆筛分装置,其特征在于:所述盛接槽(201)的内壁右侧连通设置有出料管(5)的一端,且出料管(5)的另一端固定贯穿至箱体(1)的右侧外部,所述出料管(5)的贯穿端上设置有阀门(6)。

6.根据权利要求1所述的一种铝土矿选矿用矿浆筛分装置,其特征在于:所述箱体(1)的内壁左侧连通设置有排污管(7)的一端,且排污管(7)的另一端固定贯穿至箱体(1)的左侧外部。