欢迎来到知嘟嘟! 联系电话:13336804447 卖家免费入驻,海量在线求购! 卖家免费入驻,海量在线求购!
知嘟嘟
我要发布
联系电话:13336804447
知嘟嘟经纪人
收藏
专利号: 2021206447118
申请人: 河南东大科技股份有限公司
专利类型:实用新型
专利状态:已下证
专利领域: 用液体或用风力摇床或风力跳汰机分离固体物料;从固体物料或流体中分离固体物料的磁或静电分离;高压电场分离〔5〕
更新日期:2024-03-04
缴费截止日期: 暂无
价格&联系人
年费信息
委托购买

摘要:

权利要求书:

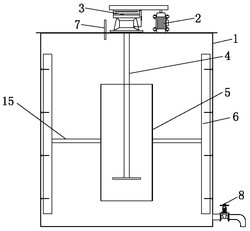
1.一种铝土矿浮选原矿浆预处理装置,其特征在于,槽体(1)为顶部开口处设有顶板的筒状结构,槽体(1)的顶板上设有电机(2)和减速机(3),电机(2)和减速机(3)相连接,减速机(3)和伸进槽体(1)内的搅拌轴(4)的上端连接,搅拌轴(4)的下端有搅拌扇叶,电机(2)、减速机(3)和搅拌轴(4)构成搅拌机构,搅拌轴(4)外周的槽体(1)内设有将搅拌扇叶包围在内的中心套筒(5),槽体(1)内侧壁上对称设置有两个涡流挡板(6),涡流挡板(6)与中心套筒(5)之间有间距,槽体(1)侧壁上部设有贯穿槽体内外壁的溢流口,溢流口外周的槽体(1)外侧壁上有与溢流口相连通的溢流箱(9),溢流箱(9)内部在靠近溢流口的位置竖直设有闸门(14),溢流箱(9)内设有U形的第一卡槽(10)和第二卡槽(12),第一卡槽(10)和第二卡槽(12)内均卡装有与闸门相互平行的第一筛网(11)和第二筛网(13),第一筛网(11)和第二筛网(13)均位于闸门(14)和远离溢流口的溢流箱(9)侧壁之间的溢流箱(9)内,槽体(1)的顶板上设有向下伸进槽体(1)内的捕收剂的添加管(7)和至少两个溢流进料管(16),槽体(1)的一侧底部设有位于涡流挡板(6)下方的放料口,放料口上设有放料阀(8)。2.根据权利要求1所述的铝土矿浮选原矿浆预处理装置,其特征在于,所述的溢流口至少有2个,溢流箱(9)的数量和溢流口的数量相同,第一筛网(11)靠近远离溢流口的溢流箱(9)内侧壁,第一筛网(11)和远离溢流口的溢流箱(9)内侧壁之间的溢流箱(9)侧壁下部有排出口(17);所述的溢流口位于涡流挡板(6)的上端上方的槽体(1)侧壁上。3.根据权利要求1所述的铝土矿浮选原矿浆预处理装置,其特征在于,所述的槽体(1)为钢制成的直径4000  mm、高度4500mm、壁厚6mm的圆筒;所述的中心套筒(5)为钢制成的直径1200mm、高度2700mm、壁厚6mm的上、下两端均开口的管状体,中心套筒(5)位于槽体(1)中部,且和搅拌轴为同心结构,中心套筒的下端距离槽体的内底面500‑1000mm;所述的涡流挡板(6)为长度250mm、高度3700mm的长条形板体,涡流挡板长度方向的边垂直于槽体的侧壁,涡流挡板的下端槽体的内底面200‑500mm。4.根据权利要求1所述的铝土矿浮选原矿浆预处理装置,其特征在于,所述的溢流箱(9)为长90mm、宽50mm、高90mm的长方形箱体。5.根据权利要求1所述的铝土矿浮选原矿浆预处理装置,其特征在于,所述的第一卡槽(10)和第二卡槽(12)的结构形状相同,第一筛网(11)和第二筛网(13)的结构形状相同,第一筛网(11)和第二筛网(13)的筛孔均为5mm。6.根据权利要求1所述的铝土矿浮选原矿浆预处理装置,其特征在于,所述的中心套筒(5)的外侧壁上沿周向环形阵列有多个水平设置的钢管(15),钢管的另一端焊接在槽体(1)的内侧壁上;所述的中心套筒(5)的下端低于搅拌扇叶的底部。7.根据权利要求1所述的铝土矿浮选原矿浆预处理装置,其特征在于,所述的捕收剂的添加管(7)和溢流进料管(16)的出口均与下方的中心套筒(5)上下相对应。8.根据权利要求1所述的铝土矿浮选原矿浆预处理装置,其特征在于,所述的溢流进料管(16)的进口与水力旋流器的溢流出口相连通。9.根据权利要求1所述的铝土矿浮选原矿浆预处理装置,其特征在于,所述的搅拌机构的转速为150r/min。10.根据权利要求1所述的铝土矿浮选原矿浆预处理装置,其特征在于,所述的闸门(14)为插板式闸门。