欢迎来到知嘟嘟! 联系电话:13336804447 卖家免费入驻,海量在线求购! 卖家免费入驻,海量在线求购!
知嘟嘟
我要发布
联系电话:13336804447
知嘟嘟经纪人
收藏
专利号: 2022212504269
申请人: 扬州市森鸿建设工程有限公司
专利类型:实用新型
专利状态:已下证
专利领域: 照明
更新日期:2025-02-25
缴费截止日期: 暂无
价格&联系人
年费信息
委托购买

摘要:

权利要求书:

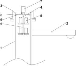
1.一种太阳能路灯蓄电池安装结构,包括灯杆,所述灯杆上部设置有灯臂,灯臂末端设置有照明灯头,其特征在于:所述灯杆顶端设置有盖板,盖板上方设置有太阳能电池板,所述灯杆上端内侧还设置有蓄电池组,所述盖板下端面开设有贯穿盖板侧面的定位槽,所述定位槽呈T型,定位槽内设置有呈工字型的定位板,定位板的上端内嵌定位于定位槽,定位板的下端容置蓄电池组。

2.根据权利要求1所述的一种太阳能路灯蓄电池安装结构,其特征在于:所述定位板的下端还开设有与定位槽相同的第二定位槽,第二定位槽连接有与定位板相同的第二定位板,第二定位板的下端也容置有蓄电池组。

3.根据权利要求1所述的一种太阳能路灯蓄电池安装结构,其特征在于:所述盖板下端面设置有凸出部,所述凸出部伸入灯杆内部,灯杆的侧壁置于凸出部和盖板侧壁之间。

4.根据权利要求3所述的一种太阳能路灯蓄电池安装结构,其特征在于:所述灯杆内侧壁上部还设置有环形的限位部,所述限位部抵住所述凸出部。

5.根据权利要求1所述的一种太阳能路灯蓄电池安装结构,其特征在于:所述盖板上端设置有供太阳能电池板安装结构连接的螺接部,所述螺接部深入盖板上端面,螺接部底端向下开设有用于走线的通孔。