欢迎来到知嘟嘟! 联系电话:13336804447 卖家免费入驻,海量在线求购! 卖家免费入驻,海量在线求购!
知嘟嘟
我要发布
联系电话:13336804447
知嘟嘟经纪人
收藏
专利号: 2017104401315
申请人: 杨晓艳
专利类型:发明专利
专利状态:授权未缴费
专利领域: 照明
更新日期:2023-08-15
缴费截止日期: 暂无
价格&联系人
年费信息
委托购买

摘要:

权利要求书:

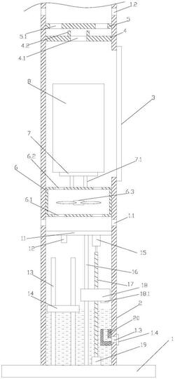
1.一种蓄电池内置的太阳能LED路灯,其特征在于,包括控制器、无线通信单元、充放电电路、蓄电池、安装基板、与安装基板固定连接的灯杆、通过灯头支架与所述灯杆固定连接的LED灯头和通过太阳能电池板支架与灯杆连接的太阳能电池板;所述灯杆为中空的灯杆,所述灯杆具有侧面开口以及用于封闭所述侧面开口的侧门,所述灯杆侧壁具有进气孔和出气孔,所述灯杆内具有固定于灯杆侧壁的内侧面的风扇盒,所述风扇盒的底部具有进口,所述风扇盒的顶部具有出口,所述风扇盒内具有散热风扇,所述风扇盒的顶部通过承载板支架固定连接有承载板,所述承载板上承载所述蓄电池;所述灯杆内还固定有第一板和位于第一板上方的第二板,所述第一板具有第一通孔,所述第二板具有第二通孔,所述出气孔位于所述第二板上方,所述进气孔位于所述风扇盒下方;所述灯杆内具有固定板,所述固定板下表面固定有激光测距传感器和驱动电机,所述安装基板固定有导杆,所述导杆穿设有能够浮起的滑块,所述激光测距传感器用于测量激光测距传感器到所述滑块上表面的距离,所述固定板和所述安装基板之间连接有光杆,所述安装基板固定有轴承座,所述轴承座内具有轴承,所述轴承和所述驱动电机的电机轴之间连接有丝杆,所述光杆穿设有活动块,所述活动块具有被所述光杆穿过的光滑孔和被所述丝杆穿过的螺纹孔,所述活动块的下表面固定有密封垫,所述导杆、丝杆和光杆均位于所述灯杆内;所述灯杆的侧壁具有进水口,所述灯杆的侧壁的内侧面固定有固定块,所述固定块具有L形通道,所述L形通道的一个端口与所述进水口连通,所述L形通道的另一个端口朝上,所述密封垫能够封闭所述L形通道的另一个端口;所述控制器进行控制,利用无线通信单元向远程控制中心发送激光测距传感器的测量信号;并且控制器进行控制,当所述激光测距传感器的测量值小于第一设定阈值时,所述控制器控制所述驱动电机利用密封垫封闭所述L形通道的另一个端口;所述控制器进行控制,当所述激光测距传感器的测量值小于第二设定阈值时,控制器利用无线通信单元向远程控制中心发送报警信号;所述第二设定阈值小于所述第一设定阈值。

2.根据权利要求1所述的蓄电池内置的太阳能LED路灯,其特征在于,所述灯杆的截面为圆形,所述第一板和第二板均为圆形,所述第一板和第二板的轴线共轴。

3.根据权利要求2所述的蓄电池内置的太阳能LED路灯,其特征在于,所述第二通孔的数量具有2个,所述第一通孔的数量为1个,第一、二孔均为圆孔;两个第二通孔的轴线相对于所述第一通孔的轴线对称。

4.根据权利要求1所述的蓄电池内置的太阳能LED路灯,其特征在于,所述风扇盒的外侧面与灯杆侧壁的内侧面焊接固定。

5.根据权利要求1所述的蓄电池内置的太阳能LED路灯,其特征在于,所述第一板上表面固定有圆环柱状的凸起部,所述凸起部包围所述第一通孔。

6.根据权利要求1所述的蓄电池内置的太阳能LED路灯,其特征在于,所述侧门与所述灯杆的侧壁铰接。

7.根据权利要求1所述的蓄电池内置的太阳能LED路灯,其特征在于,所述蓄电池为锂电池。