欢迎来到知嘟嘟! 联系电话:13336804447 卖家免费入驻,海量在线求购! 卖家免费入驻,海量在线求购!
知嘟嘟
我要发布
联系电话:13336804447
知嘟嘟经纪人
收藏
专利号: 202221149754X
申请人: 青岛多顺机械有限公司
专利类型:实用新型
专利状态:已下证
专利领域: 织造
更新日期:2025-04-08
缴费截止日期: 暂无
价格&联系人
年费信息
委托购买

摘要:

权利要求书:

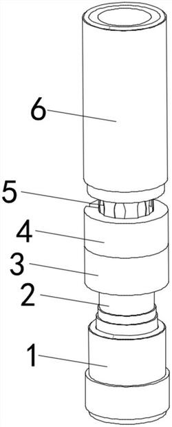
1.一种喷水织机用喷嘴安装调节装置,包括输入头(1),所述输入头(1)的顶部固定安装有输送管(2),所述输送管(2)的顶部固定安装有输出头(6),其特征在于:所述输送管(2)的外壁套接有底部套圈(3),所述底部套圈(3)的顶部卡接有顶部套圈(4),所述底部套圈(3)和顶部套圈(4)的外壁均开设有卡接槽(5),所述底部套圈(3)的内部开设有内置腔(11),所述内置腔(11)的内部固定安装有弹簧片(12),所述顶部套圈(4)的内部固定安装有固定卡杆(10),所述底部套圈(3)的内部开设有安装套口(7),所述安装套口(7)和固定卡杆(10)的外壁相互卡接。

2.根据权利要求1所述的一种喷水织机用喷嘴安装调节装置,其特征在于:所述顶部套圈(4)的内部开设有限位环槽(9),所述安装套口(7)的内部固定安装有卡接板(8),所述卡接板(8)的内部和输出头(6)的外壁相互适配,所述限位环槽(9)的内部和输入头(1)的外壁相互卡接。

3.根据权利要求1所述的一种喷水织机用喷嘴安装调节装置,其特征在于:所述底部套圈(3)的内部开设有限位腔,所述限位腔的内部和弹簧片(12)的外壁活动套接。

4.根据权利要求2所述的一种喷水织机用喷嘴安装调节装置,其特征在于:所述底部套圈(3)和顶部套圈(4)的内部均开设有连接腔,所述连接腔的内部和输出头(6)与输入头(1)的外壁相互适配。

5.根据权利要求1所述的一种喷水织机用喷嘴安装调节装置,其特征在于:所述安装套口(7)的内部开设有防滑纹,所述安装套口(7)的内部和固定卡杆(10)的外壁相互适配。

6.根据权利要求2所述的一种喷水织机用喷嘴安装调节装置,其特征在于:所述卡接板(8)的一侧开设有侧槽,所述侧槽的内部和卡接槽(5)的外壁相互适配。