欢迎来到知嘟嘟! 联系电话:13336804447 卖家免费入驻,海量在线求购! 卖家免费入驻,海量在线求购!
知嘟嘟
我要发布
联系电话:13336804447
知嘟嘟经纪人
收藏
专利号: 2019113733501
申请人: 金鹏飞
专利类型:发明专利
专利状态:已下证
专利领域: 织造
更新日期:2025-12-18
缴费截止日期: 暂无
价格&联系人
年费信息
委托购买

摘要:

权利要求书:

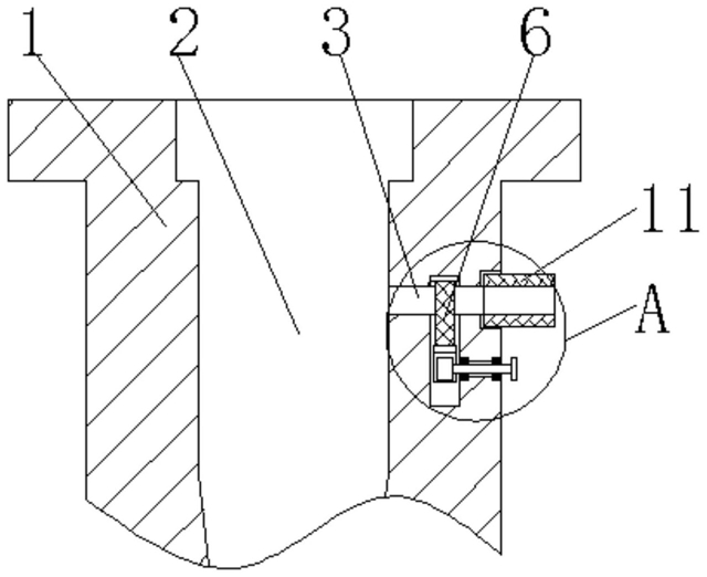
1.一种喷水织布机用可调喷嘴,包括喷嘴座(1),其特征在于:所述喷嘴座(1)的表面开设有喷水孔(2),所述喷嘴座(1)的侧面开设有调压孔(3),所述调压孔(3)的内壁开设有调压滑槽(4),所述调压滑槽(4)的表面固定连接有密封垫(5),所述调压滑槽(4)的表面活动连接有调压滑板(6),所述调压滑板(6)的底面固定连接有齿板(7),所述齿板(7)的表面啮合有调压齿轮(8),所述调压齿轮(8)的内壁固定连接有第一转轴(9),所述第一转轴(9)远离调压齿轮(8)的表面固定连接有第一调节转轮(10),所述调压孔(3)的内壁固定连接有泄压水管(11),所述喷嘴座(1)的底面活动连接有喷针(12),所述喷针(12)的顶面开设有螺纹孔(13),所述螺纹孔(13)的内壁与喷嘴座(1)的表面螺纹连接,所述螺纹孔(13)的内壁固定连接有防水圈(14),所述喷针(12)的内壁开设有导向滑槽(15),所述喷针(12)的内壁活动连接有导向增压器(16),所述导向增压器(16)的侧面固定连接有转动环(17),所述转动环(17)的表面固定连接有齿环(18),所述齿环(18)的表面啮合有调向齿轮(19),所述调向齿轮(19)的内壁固定连接有第二转轴(20),所述第二转轴(20)远离调向齿轮(19)的表面固定连接有第二调节转轮(21),所述第二转轴(20)的表面通过轴承与喷针(12)的表面活动连接。

2.根据权利要求1所述的一种喷水织布机用可调喷嘴,其特征在于:所述第一转轴(9)的表面通过轴承与喷嘴座(1)的表面活动连接。

3.根据权利要求1所述的一种喷水织布机用可调喷嘴,其特征在于:所述防水圈(14)的表面与喷嘴座(1)的底面搭接。

4.根据权利要求1所述的一种喷水织布机用可调喷嘴,其特征在于:所述转动环(17)的表面与导向滑槽(15)的表面活动连接。

5.根据权利要求1所述的一种喷水织布机用可调喷嘴,其特征在于:所述螺纹孔(13)的中心轴与喷水孔(2)的中心轴在同一条直线上。

6.根据权利要求1所述的一种喷水织布机用可调喷嘴,其特征在于:所述喷针(12)的中心轴线与喷嘴座(1)的中心轴线在同一条直线上。