欢迎来到知嘟嘟! 联系电话:13336804447 卖家免费入驻,海量在线求购! 卖家免费入驻,海量在线求购!
知嘟嘟
我要发布
联系电话:13336804447
知嘟嘟经纪人
收藏
专利号: 2022208214009
申请人: 湖北诚晟腾印铁制罐股份有限公司
专利类型:实用新型
专利状态:已下证
专利领域: 机床;其他类目中不包括的金属加工
更新日期:2024-02-23
缴费截止日期: 暂无
价格&联系人
年费信息
委托购买

摘要:

权利要求书:

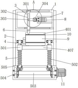
1.一种铁包装桶生产用焊接装置,包括机壳(1)和竖板(2),所述机壳(1)的两端与竖板(2)固定相连,其特征在于:所述机壳(1)的内部设有焊接装置(3),所述焊接装置(3)包括曲柄(305),所述曲柄(305)的轴体后端与机壳(1)转动相连,所述曲柄(305)的外侧与凸块(303)固定相连,所述凸块(303)的外壁与环形板(302)的滑槽滑动卡接,所述环形板(302)的顶端与滑块(301)固定相连,所述滑块(301)的外壁与机壳(1)的滑槽滑动相连,所述曲柄(305)的轴体外壁通过第一锥齿轮组(304)与第一电机(8)的输出轴转动相。

2.根据权利要求1所述的一种铁包装桶生产用焊接装置,其特征在于:所述第一电机(8)的外壁与支架(7)固定相连,所述支架(7)的端部与机壳(1)固定相连。

3.根据权利要求1所述的一种铁包装桶生产用焊接装置,其特征在于:所述环形板(302)的底端与焊枪(6)固定相连,所述焊枪(6)的底部与弧形钢板(10)紧密贴合。

4.根据权利要求3所述的一种铁包装桶生产用焊接装置,其特征在于:所述弧形钢板(10)的内壁与圆筒(9)紧密贴合。

5.根据权利要求3所述的一种铁包装桶生产用焊接装置,其特征在于:所述弧形钢板(10)的外侧设有固定装置(4);

所述固定装置(4)包括夹块(401)、竖块(402)、套块(403)、竖杆(404)、第一连杆(405)、第二连杆(406)和横板(407);

两侧所述夹块(401)的内壁与弧形钢板(10)紧密贴合,所述夹块(401)的底端与套块(403)固定相连,所述套块(403)的外壁与横板(407)的滑槽滑动相连,多个所述套块(403)的底端与竖杆(404)固定相连,所述竖杆(404)的内侧通过销轴与第二连杆(406)转动相连,多个所述第二连杆(406)的内侧通过销轴与第一连杆(405)转动相连,所述第一连杆(405)的中部通过销轴与竖块(402)转动相连,所述竖块(402)的两端与横板(407)固定相连,所述横板(407)的顶端与圆筒(9)固定相连,所述竖块(402)的右端与液压缸(12)固定相连,右侧所述竖杆(404)的内侧与液压缸(12)的输出端固定相连。