欢迎来到知嘟嘟! 联系电话:13336804447 卖家免费入驻,海量在线求购! 卖家免费入驻,海量在线求购!
知嘟嘟
我要发布
联系电话:13336804447
知嘟嘟经纪人
收藏
专利号: 2022211928841
申请人: 湖北诚晟腾印铁制罐股份有限公司
专利类型:实用新型
专利状态:已下证
专利领域: 磨削;抛光
更新日期:2024-08-26
缴费截止日期: 暂无
价格&联系人
年费信息
委托购买

摘要:

权利要求书:

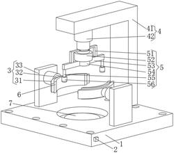
1.一种铁包装桶生产用焊缝打磨装置,其特征在于:包括底座(1)、固定机构(3)、伸缩机构(4)和打磨机构(5);

底座(1):其内部圆形凹槽上表面与垫片(7)的下表面固定连接;

固定机构(3):其设置于底座(1)的上表面;

伸缩机构(4):其设置于底座(1)的后侧上表面;

打磨机构(5):其上表面与伸缩机构(4)的上端下表面固定连接,打磨机构(5)的上端与伸缩机构(4)的下端侧面滑动连接;

其中:还包括阻尼片(6),所述阻尼片(6)设置于固定机构(3)的内表面。

2.根据权利要求1所述的一种铁包装桶生产用焊缝打磨装置,其特征在于:还包括单片机(2),所述单片机(2)设置于底座(1)的右表面,单片机(2)的输入端电连接外部电源。

3.根据权利要求2所述的一种铁包装桶生产用焊缝打磨装置,其特征在于:所述固定机构(3)包括弧形夹板(31)、第一电动伸缩杆(32)和固定板(33),所述固定板(33)的下表面与底座(1)的上表面固定连接,两端固定板(33)的内表面与两端第一电动伸缩杆(32)的外表面固定连接,第一电动伸缩杆(32)的伸缩端上端与弧形夹板(31)的外侧弧面固定连接,第一电动伸缩杆(32)的输入端与单片机(2)的输出端电连接。

4.根据权利要求2所述的一种铁包装桶生产用焊缝打磨装置,其特征在于:所述伸缩机构(4)包括后挡板(41)和第二电动伸缩杆(42),所述后挡板(41)的下表面与底座(1)的后侧上表面固定连接,后挡板(41)的上端前侧下表面与第二电动伸缩杆(42)的上表面固定连接,第二电动伸缩杆(42)的伸缩端下端设有凹槽滑轨,第二电动伸缩杆(42)的输入端与单片机(2)的输出端电连接。

5.根据权利要求4所述的一种铁包装桶生产用焊缝打磨装置,其特征在于:所述打磨机构(5)包括支撑杆(51)、转动电机(52)、旋转杆(53)、转轴(54)、圆杆(55)和打磨柱(56),所述转动电机(52)的上表面与第二电动伸缩杆(42)的伸缩端下表面固定连接,转动电机(52)的输出轴与转轴(54)的上端固定连接,转动电机(52)输入端与单片机(2)的输出端电连接,转轴(54)的外表面均设有两个旋转杆(53),旋转杆(53)的上端均设有支撑杆(51),两个支撑杆(51)的上端均与凹槽滑轨滑动连接,旋转杆(53)的下端均设有圆杆(55),圆杆(55)的下端均设有打磨柱(56)。

6.根据权利要求3所述的一种铁包装桶生产用焊缝打磨装置,其特征在于:所述阻尼片(6)设置于弧形夹板(31)的内侧弧面。

7.根据权利要求1所述的一种铁包装桶生产用焊缝打磨装置,其特征在于:所述底座(1)的四周设有均匀分布的安装孔。