欢迎来到知嘟嘟! 联系电话:13336804447 卖家免费入驻,海量在线求购! 卖家免费入驻,海量在线求购!
知嘟嘟
我要发布
联系电话:13336804447
知嘟嘟经纪人
收藏
专利号: 2022108240239
申请人: 王晓玮
专利类型:发明专利
专利状态:授权未缴费
专利领域: 测量;测试
更新日期:2025-07-09
缴费截止日期: 暂无
价格&联系人
年费信息
委托购买

摘要:

权利要求书:

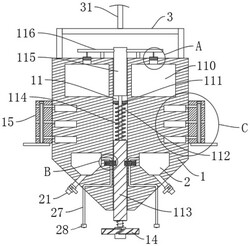
1.地下水监测井水文地质参数的测试装置,包括检测筒(1),其特征在于,所述检测筒(1)中开设有第一滑腔(11),还包括:滑动连接在所述第一滑腔(11)中的第一滑杆(113),所述第一滑杆(113)上固定连接有第一连接杆(114),所述第一连接杆(114)上套设有第一弹簧(112),所述第一滑腔(11)中固定连接有固定块(111),所述第一连接杆(114)滑动连接在固定块(111)上,所述第一弹簧(112)一端固定连接在第一滑杆(113)上,另一端固定连接在所述固定块(111)上;

固定连接在所述第一连接杆(114)上的第二滑杆(115),所述第二滑杆(115)滑动连接在第一滑腔(11)中,所述第二滑杆(115)顶端固定连接有第二连接杆(116);

开设在所述检测筒(1)内的第一收集腔(110),所述检测筒(1)上开设有与第一收集腔(110)相连通的第一进液口(119),所述第二连接杆(116)上连接有封堵塞(118),所述封堵塞(118)塞入第一进液口(119)中;

固定连接在所述检测筒(1)上的连接架(3),所述连接架(3)上固定连接有牵引绳(31);

固定连接在所述检测筒(1)上的支撑腿(32)。

2.根据权利要求1所述的地下水监测井水文地质参数的测试装置,其特征在于:所述第二连接杆(116)上固定连接有拉绳(117),所述封堵塞(118)固定连接在拉绳(117)上。

3.根据权利要求2所述的地下水监测井水文地质参数的测试装置,其特征在于:所述检测筒(1)上开设有用于收集泥浆的第三收集腔(2)。

4.根据权利要求3所述的地下水监测井水文地质参数的测试装置,其特征在于:所述检测筒(1)上固定连接有与第三收集腔(2)连通的连接管(27),所述检测筒(1)上固定连接有与第三收集腔(2)相连通的负压管(21),所述负压管(21)上安装有阀门。

5.根据权利要求4所述的地下水监测井水文地质参数的测试装置,其特征在于:所述检测筒(1)中开设有一端与第三收集腔(2)相连通的流道(22),所述流道(22)的另一端与连接管(27)相连通,所述检测筒(1)中开设有一端与流道(22)相连通的滑槽(23),所述滑槽(23)中滑动连接有第一磁铁(25),所述第一磁铁(25)一侧固定连接有第二弹簧(24),所述第二弹簧(24)远离第一磁铁(25)的一端固定连接在滑槽(23)侧壁上,所述第一滑杆(113)一侧固定连接有与第一磁铁(25)异性相吸的第二磁铁(26)。

6.根据权利要求5所述的地下水监测井水文地质参数的测试装置,其特征在于:所述连接管(27)为软管,所述连接管(27)的末端固定连接有重力块(28)。

7.根据权利要求6所述的地下水监测井水文地质参数的测试装置,其特征在于:所述第一滑杆(113)的末端上转动连接有转轴(12),所述转轴(12)上固定连接有涡轮(14),所述转轴(12)上套设有扭簧(13),所述扭簧(13)一端固定连接在第一滑杆(113)上,另一端固定连接在涡轮(14)上,所述第一滑杆(113)和第二滑杆(115)截面为矩形。

8.根据权利要求7所述的地下水监测井水文地质参数的测试装置,其特征在于:所述检测筒(1)中开设有用于收集不同深度水样的第二收集腔(155),所述第二收集腔(155)设有三个,且呈高低状设置。

9.根据权利要求8所述的地下水监测井水文地质参数的测试装置,其特征在于:所述检测筒(1)外壁上固定连接有连接块(15),所述连接块(15)中开设有两端分别贯穿连接块(15)的第二滑腔(151),所述第二滑腔(151)中滑动连接有连杆(153),所述连杆(153)的顶端固定连接有滑块(152),所述滑块(152)滑动连接在第二滑腔(151)中,所述连杆(153)的末端固定连接有受力板(154),所述连接块(15)上分别开设有一端与三个第二收集腔(155)相连通的第二进液口(156),所述第二进液口(156)的另一端与第二滑腔(151)相连通。

10.根据权利要求9所述的地下水监测井水文地质参数的测试装置,其特征在于:所述连接块(15)上分别开设有与第二进液口(156)相对应的取样口(157),所述取样口(157)一端与第二滑腔(151)相连通,另一端贯穿连接块(15)。