欢迎来到知嘟嘟! 联系电话:13336804447 卖家免费入驻,海量在线求购! 卖家免费入驻,海量在线求购!
知嘟嘟
我要发布
联系电话:13336804447
知嘟嘟经纪人
收藏
专利号: 202210463709X
申请人: 中山市巨正电子有限公司
专利类型:发明专利
专利状态:已下证
专利领域: 光学
更新日期:2025-04-21
缴费截止日期: 暂无
价格&联系人
年费信息
委托购买

摘要:

权利要求书:

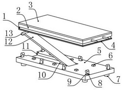
1.一种便于拆卸的LED背光源,包括背光源主体和固定底座,所述背光源主体的两侧分别配合设有扩散板和反射膜;所述固定底座设于反射膜远离背光源主体的一侧,其特征在于,还包括:弹性卡固组件,所述固定底座的外侧周向分布安装有多个弹性卡固组件,当所述背光源主体抵靠在固定底座上时,通过多个所述弹性卡固组件对背光源主体进行弹性卡位固定;

拆卸组件,所述固定底座上还安装有拆卸组件,且所述拆卸组件用于通过向外拉出后并向靠近背光源主体的一侧抬起的方式将背光源主体从固定底座的弹性卡固组件上卸下;

所述弹性卡固组件包括有卡固件和支轴;

所述固定底座靠近背光源主体的一侧面周向分布开设有多个安装槽,所述安装槽内通过支轴转动安装有卡固件;

所述支轴上还安装有扭力弹簧,且所述扭力弹簧用于使得卡固件远离固定底座的一端向靠近背光源主体的一侧弹性抵靠,并对背光源主体弹性卡位固定;

所述拆卸组件包括有卸料板、弹性件、连接轴、限位杆和滑块;

所述固定底座靠近背光源主体的一侧面中间开设有摆出槽,摆出槽靠近背光源主体的一侧面为开口设置,摆出槽的内端于固定底座内开设有卡位腔,卡位腔和摆出槽连通设置,卡位腔远离摆出槽的一侧于固定底座内开设有限位腔;

所述限位腔内配合滑动设有滑块,滑块的一侧固定设有弹性件,弹性件远离滑块的一端固定于限位腔的端部,滑块的另一侧固定设有限位杆,限位杆滑动伸入到卡位腔内,且限位杆远离滑块的一端通过连接轴与卸料板转动连接,卸料板设于摆出槽内;

无外力时,所述卸料板在弹性件的弹力作用下其内端伸入到卡位腔内,且连接轴与卡位腔远离摆出槽的端部抵靠;

当施加向外的拉力在卸料板上时,卸料板能够与卡位腔完全脱离,且此时滑块与限位腔靠近卡位腔的端部抵靠;继续将卸料板远离连接轴的一端向靠近背光源主体的一侧抬起,即可将背光源主体从弹性卡固组件的卡固件上卸下。

2.根据权利要求1所述的便于拆卸的LED背光源,其特征在于,所述卡固件包括有杆部和球头部;

所述杆部和球头部配合连接,杆部远离球头部的一端安装固定有支轴,支轴的两端与安装槽的槽壁转动连接;

所述杆部两侧的支轴上均设有扭力弹簧,扭力弹簧的一端与杆部固定连接,扭力弹簧的另一端与安装槽的槽壁固定连接。

3.根据权利要求2所述的便于拆卸的LED背光源,其特征在于,所述背光源主体的外侧壁上开设有能够与卡固件的球头部相配合连接的卡固槽。

4.根据权利要求3所述的便于拆卸的LED背光源,其特征在于,所述固定底座的顶部还设有多个一号支撑块,安装槽靠近背光源主体的一侧壁上安装有二号支撑块,且所述一号支撑块和二号支撑块均采用弹性材料制成;

当所述卡固件卡位固定在卡固槽上后,所述卡固件的杆部垂直于固定底座的表面,且卡固件的杆部与二号支撑块抵靠,反射膜与一号支撑块抵靠。

5.根据权利要求1‑4任一项所述的便于拆卸的LED背光源,其特征在于,所述卸料板远离连接轴的一端还安装固定有把手,固定底座的端部对应设有用于把手容置的容置槽,容置槽靠近背光源主体的一侧面以及容置槽远离摆出槽的一侧面均为开口设置;

当连接轴与卡位腔远离摆出槽的端部抵靠时,所述卸料板完全容置在摆出槽和卡位腔内,把手完全容置在容置槽内。

我要求购
我不想找了,帮我找吧
您有专利需要变现?
我要出售
智能匹配需求,快速出售