欢迎来到知嘟嘟! 联系电话:13336804447 卖家免费入驻,海量在线求购! 卖家免费入驻,海量在线求购!
知嘟嘟
我要发布
联系电话:13336804447
知嘟嘟经纪人
收藏
专利号: 2022102371123
申请人: 江西天仙精藏设备有限公司
专利类型:发明专利
专利状态:授权未缴费
专利领域: 建筑物
更新日期:2025-04-15
缴费截止日期: 暂无
价格&联系人
年费信息
委托购买

摘要:

权利要求书:

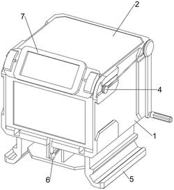
1.一种双层真空骨灰盒存放架,包括有双层安装盒(1)、隔板(11)和摆放盘(12),双层安装盒(1)内部设置有隔板(11),隔板(11)上侧设置有摆放盘(12),其特征是,还包括有翻转机构(2)和放置机构(3),双层安装盒(1)上侧设置有翻转机构(2),双层安装盒(1)内底壁设置有放置机构(3);翻转机构(2)包括有转轴(20)、双层翻转板(21)、双层玻璃板(22)和摆动把手(23),双层安装盒(1)后部转动式设置有转轴(20),转轴(20)上设置有双层翻转板(21),双层翻转板(21)前侧设置有双层玻璃板(22),转轴(20)右侧穿过双层安装盒(1),转轴(20)右侧设置有摆动把手(23);放置机构(3)包括有开孔筒(30)、固定筒(31)和拉取环(32),双层安装盒(1)内底壁左右两侧均设置有开孔筒(30),开孔筒(30)内部滑动式设置有固定筒(31),固定筒(31)前侧均设置有拉取环(32);还包括有转动机构(4),转动机构(4)包括有第一安装轮(40)、旋转杆(41)、第一阻尼套(42)、第一涡卷弹簧(43)、第二安装轮(44)和拉绳(45),转轴(20)右侧设置有第一安装轮(40),第一安装轮(40)位于摆动把手(23)左侧,双层安装盒(1)左右两侧前部之间转动式设置有旋转杆(41),旋转杆(41)上滑动式设置有两个第一阻尼套(42),旋转杆(41)右侧与双层安装盒(1)右侧内壁之间设置有第一涡卷弹簧(43),旋转杆(41)右侧穿过双层安装盒(1),旋转杆(41)右侧设置有第二安装轮(44),第二安装轮(44)与第一安装轮(40)之间绕卷有拉绳(45)。

2.根据权利要求1所述的一种双层真空骨灰盒存放架,其特征是,还包括有支撑机构(5),支撑机构(5)包括有支撑座(50)、连接板(51)和橡胶条(52),双层安装盒(1)底部左右两侧均设置有支撑座(50),支撑座(50)之间设置有连接板(51),支撑座(50)底部均设置有橡胶条(52)。

3.根据权利要求2所述的一种双层真空骨灰盒存放架,其特征是,还包括有限位机构(6),限位机构(6)包括有挤压柱(60)、固定块(61)、固定杆(62)、摆动板(63)、第二涡卷弹簧(64)和限位板(65),双层翻转板(21)前侧内壁下部设置有挤压柱(60),双层安装盒(1)下侧中部设置有两个固定块(61),两个固定块(61)之间设置有固定杆(62),固定杆(62)上转动式设置有摆动板(63),摆动板(63)中部左右两侧与固定块(61)内侧之间均设置有第二涡卷弹簧(64),双层安装盒(1)内底壁滑动式设置有限位板(65)。

4.根据权利要求3所述的一种双层真空骨灰盒存放架,其特征是,还包括有记录机构(7),记录机构(7)包括有弧形板(70)、记录板(71)和第二阻尼套(72),双层翻转板(21)前侧设置有弧形板(70),弧形板(70)左右两侧之间转动式设置有记录板(71),弧形板(70)左右两侧内部均设置有第二阻尼套(72)。

5.根据权利要求4所述的一种双层真空骨灰盒存放架,其特征是,开孔筒(30)上侧开有孔。