欢迎来到知嘟嘟! 联系电话:13336804447 卖家免费入驻,海量在线求购! 卖家免费入驻,海量在线求购!
知嘟嘟
我要发布
联系电话:13336804447
知嘟嘟经纪人
收藏
专利号: 2022102268442
申请人: 徐州工业职业技术学院
专利类型:发明专利
专利状态:已下证
专利领域: 将固体从固体中分离;分选
更新日期:2025-04-14
缴费截止日期: 暂无
价格&联系人
年费信息
委托购买

摘要:

权利要求书:

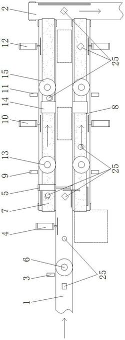
1.一种基于视觉检测及自动控制的表面瑕疵检测系统,包括上料输送机(1)和打包输送机(2),其特征在于:所述上料输送机(1)的一侧分别设置有传感器一(3)、分拣推杆一(4)和分料推杆(5),所述传感器一(3)和分料推杆(5)分别位于分拣推杆一(4)的上游和下游,所述上料输送机(1)的上方且位于传感器一(3)与分拣推杆一(4)之间的位置处设置有录入模块一(6);

所述上料输送机(1)靠近分料推杆(5)一端下方的正面和背面分别设置有分料输送机一(7)和分料输送机二(8),分料输送机一(7)和分料输送机二(8)相对于上料输送机(1)的输送速度下降了一半,上料输送机(1)的高度比分料输送机一(7)和分料输送机二(8)的高度大,所述分料输送机一(7)和分料输送机二(8)的一侧沿着输送方向分别设置有传感器二(9)、分拣推杆二(10)、传感器三(11)和分拣推杆三(12),所述分料输送机一(7)和分料输送机二(8)的上方均分别设置有录入模块二(13)、调整组件(14)和录入模块三(15),所述录入模块二(13)位于传感器二(9)与分拣推杆二(10)之间,所述调整组件(14)位于分拣推杆二(10)与传感器三(11)之间,所述录入模块三(15)位于传感器三(11)与分拣推杆三(12)之间,所述打包输送机(2)设置在分料输送机一(7)和分料输送机二(8)远离上料输送机(1)一端的下方;其中,所述分料输送机一(7)和分料输送机二(8)均为表面设置绒面的皮带平面输送机,所述调整组件(14)的底部设置有摩擦海绵垫块(141),且摩擦海绵垫块(141)的两侧均设置为向上弯曲的平滑曲面;

所述分料推杆(5)、分拣推杆一(4)、录入模块一(6)、打包输送机(2)和上料输送机(1)均通过控制器一(16)信号驱动,所述传感器一(3)与视觉检测模块一(17)均与控制器一(16)信号连接,所述录入模块一(6)分别与显示模块一(18)和视觉检测模块一(17)信号连接,所述视觉检测模块一(17)和控制器一(16)均分别与CPU(19)双向信号连接,且CPU(19)与报警模块(20)信号连接;

所述CPU(19)分别与视觉检测模块二(21)和控制器二(22)双向信号连接,所述控制器二(22)分别与分拣推杆二(10)、分拣推杆三(12)、录入模块二(13)、录入模块三(15)、分料输送机一(7)和分料输送机二(8)信号连接,所述传感器二(9)、传感器三(11)和视觉检测模块二(21)均与控制器二(22)信号连接,所述录入模块二(13)分别与显示模块二(23)和视觉检测模块二(21)信号连接,所述录入模块三(15)分别与显示模块三(24)和视觉检测模块二(21)信号连接;

其中,所述录入模块一(6)、录入模块二(13)和录入模块三(15)均为多方位摄像头,所述录入模块一(6)为高速多方位摄像头,所述录入模块二(13)和录入模块三(15)均为高清多方位摄像头,且高速多方位摄像头和高清多方位摄像头的角度均可调,所述高速多方位摄像头包括左前、左后、右前、右后和右上方各一个高速摄像头,所述高清多方位摄像头包括前、后、左、右、上方各一个高清摄像头。

2.根据权利要求1所述的一种基于视觉检测及自动控制的表面瑕疵检测系统,其特征在于:所述分拣推杆一(4)、分拣推杆二(10)、分拣推杆三(12)和分料推杆(5)均为气动推杆,所述分拣推杆一(4)、分拣推杆二(10)、分拣推杆三(12)和分料推杆(5)的端部均设置有推板,且分拣推杆一(4)、分拣推杆二(10)和分拣推杆三(12)端部的推板为平板,所述分料推杆(5)端部的推板为T型板。

3.根据权利要求1所述的一种基于视觉检测及自动控制的表面瑕疵检测系统,其特征在于:所述分料输送机一(7)和分料输送机二(8)侧面的两组分拣推杆二(10)和两组分拣推杆三(12)均分别相对设置,且上料输送机(1)的一侧以及分料输送机一(7)与分料输送机二(8)之间且与分拣推杆二(10)和分拣推杆三(12)对应的位置处均设置有瑕疵品收集框。

4.根据权利要求1所述的一种基于视觉检测及自动控制的表面瑕疵检测系统,其特征在于:所述报警模块(20)包括灯光报警器和声音报警器。