欢迎来到知嘟嘟! 联系电话:13336804447 卖家免费入驻,海量在线求购! 卖家免费入驻,海量在线求购!
知嘟嘟
我要发布
联系电话:13336804447
知嘟嘟经纪人
收藏
专利号: 2013101195676
申请人: 江南大学
专利类型:发明专利
专利状态:已下证
专利领域: 测量;测试
更新日期:2023-10-11
缴费截止日期: 暂无
价格&联系人
年费信息
委托购买

摘要:

权利要求书:

1.基于Gabor多分辨率分解的经编机布匹瑕疵在线视觉检测方法,包括Gabor变换、特征提取和瑕疵识别;可以实现纹理布匹经编机实时监控以及瑕疵停机,算法分为离线测试和在线检测过程,具体步骤如下:离线过程

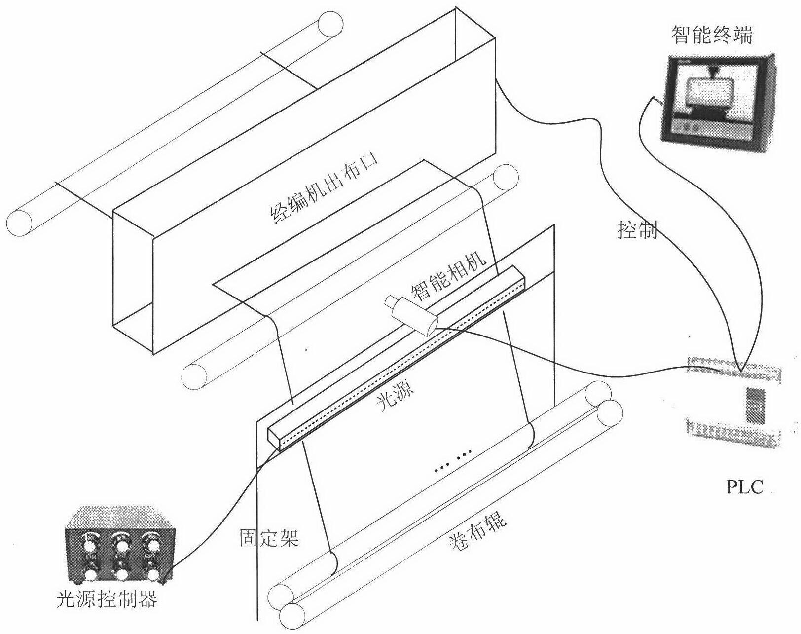
第一步:实时获取经编机无瑕疵布匹图像,在经编机出布口5cm处拍摄图片,实时获取经编机图像序列;

第二步:对获取的无瑕疵布匹图像预处理,通过高斯滤波去除图像干扰点;通过直方图均衡化拉伸图像,增强对比度,凸显图像纹理;

第三步:布匹图像纹理基元周期自动找寻,通过构建图像自相关函数求取径向和纵向自相关系数,自动找寻纹理基元周期;

第四步:Gabor滤波器构造,针对布匹纹理图像瑕疵均是纵向或是径向的特点,构造四尺度四方向的Gabor滤波器组,得到十六通道Gabor子图,根据纹理类型选取最可以凸显纹理信息的Gabor子图作为特征提取图;

第五步:在离线第四步中选取的Gabor子图上依据第三步所求取的纹理基元周期对无瑕疵布匹图像划分窗口,提取纹理特征,选取统计特征和灰度共生矩阵特征来窗口化分析子图,提取并保存Gabor子图提取的统计特征和灰度共生矩阵特征组,用于在线检测过程中瑕疵在线检测;

在线过程

第一步:实时获取经编机图像,在经编机出布口5cm处拍摄图片,实时获取经编机图像序列,对连续的每个序列按在线过程中第二步和第三步处理,若出现连续五个序列在同一位置至少三次检测为瑕疵,则确定此处为瑕疵区域;发送信号给伺服控制系统,经编机停机待检修,否则继续处理后续图像序列,实现经编机瑕疵在线检测;

第二步:预处理,然后依据离线测试结果构建Gabor滤波器组,求取最优Gabor子图,在此最优Gabor子图上依据离线测试得出的纹理基元周期窗口化提取统计特征和灰度共生矩阵特征特征组;

第三步:分析在线第二步中所得Gabor子图提取的统计特征和灰度共生矩阵特征,通过与离线测试得出的无瑕疵布匹特征组比较决策,分割出瑕疵窗口。

2.根据权利要求1所述经编机布匹瑕疵在线视觉检测方法,其特征是:所述离线测试过程步骤一中,包括以下步骤:(1)根据经编机布匹瑕疵在线检测精度要求,在出布口5cm处,连续采集图像序列;

(2)所采集图像序列存入结构体structure中,作为无瑕疵标准图像用于后续的离线测试。

3.根据权利要求1所述经编机布匹瑕疵在线视觉检测方法,其特征是:所述离线测试过程步骤二中,包括以下步骤:(1)对由经编机得到的无瑕疵布匹图像序列利用高斯滤波去噪,高斯卷积模板如下:(2)继而对高斯滤波后图像做直方图均衡化处理,首先计算图像中灰度级rk出现的概率为:n是图像中像素的总和,nk是灰度级为rk的像素个数,L为图像中灰度级总数,输出灰度级sk为:通过灰度级sk的计算公式将输入图像中灰度级为rk的各像素映射到输出图像中灰度级为sk的对应像素。

4.根据权利要求1所述经编机布匹瑕疵在线视觉检测方法,其特征是:所述离线测试过程步骤三中,包括以下步骤:(1)选取左上方的w×w的窗口做原始窗口,w×w为窗口尺寸,计算纵向和径向自相关系数;

(2)平滑两组自相关系数c1,c2,消除细微毛刺对求取极值的干扰,分别求取自相关系数c1,c2的极大值,用相邻极大值间差的均值作为纹理基元周期。

5.根据权利要求1所述经编机布匹瑕疵在线视觉检测方法,其特征是:所述离线测试过程步骤四中,包括以下步骤:(1)Gabor滤波器构造

构建一组方向和尺度都不同的滤波器Gm,n(x,y),为了减少滤波器响应对冲击响应的敏感性,在Gabor滤波器的实部加上一个常量,使它的均值为0,即G(0,0)=0;

(2)Gabor滤波器的改进

针对经编机在线瑕疵检测实时性要求高的特点不能满足,提出一种在满足检测精度的前提下离线确定Gabor滤波器组参数的方法,针对具体纹理布匹离线选定Gabor滤波器组参数,包括尺度和方向;

根据多次试验,首先在Gabor尺度为2^(-i),i=1,2,3,4,方向为0°,45°,90°,

135°的情况下构造十六通道Gabor滤波器组,得到十六通道Gabor子图;

(3)由于经编机织布过程所织出布匹要么呈类似颗粒状无纹理,要么在某一方向有一特定纹理,这样就要求对权利要求书5(2)中所得到的Gabor子图组寻找最优Gabor子图,在保证实时性最大化的同时能够有效反映布匹表面纹理信息。

6.根据权利要求5所述经编机布匹瑕疵在线视觉检测方法,其特征是:所述离线测试过程步骤五中,包括以下步骤:对于权利要求书5(3)中得到的最优Gabor子图,提取能够反映布匹表面纹理信息的特征组合,采用统计特征和纹理局部描述子特征相结合的特征提取方式,兼顾了对布匹有无纹理的表征;根据所自动寻取的纹理基元周期设定窗口,最终可以得到无瑕疵布匹图像特征矩阵Feature_std(M×N)如下:(1)统计特征提取

使用角二阶矩、相关性、对比度和熵四个特征;

(2)灰度共生矩阵特征提取

对权利要求书5(3)中得到的最优Gabor子图的每个窗口提取灰度共生矩阵。

7.根据权利要求1所述经编机布匹瑕疵在线视觉检测方法,其特征是:所述在线检测过程步骤一中,包括以下步骤:(1)检测第一幅图序列,如果没有一处为瑕疵区域,不保存此图像序列,继续检测下一序列,若是此图像出现瑕疵,保存此图像瑕疵位置至结构体structure[1],并转为步骤(2);

(2)继续检测下一幅图像,无论有否瑕疵,保存至structure[1],前面保存序列均由structure[i]转存到structure[i+1],此处i=1,2,3,4,structure[5]舍弃;

(3)判断structure结构体中五个序列是否出现同一位置有四个序列出现标记为瑕疵,若是,确定此位置为瑕疵区域,停机等待人工检修,若不是,继续步骤(2);

(4)直至故障修复后,开始步骤(1)继续检测。

8.根据权利要求1所述经编机布匹瑕疵在线视觉检测方法,其特征是:所述在线检测过程步骤二中,包括以下步骤:(1)预处理过程,对由经编机得到的待检测布匹图像序列利用高斯滤波去噪,继而对高斯滤波后图像做直方图均衡化处理,增加对比度;

(2)根据离线测试过程中所选取的Gabor子图索引,构建离线过程所确定的尺度和方向的Gabor滤波器,得到最优Gabor子图;

(3)根据离线测试过程中所自动寻取的纹理基元周期设定窗口,提取各窗口统计特征和灰度共生矩阵特征,得到各窗口特征矩阵Feature(M×N)。

9.根据权利要求1所述经编机布匹瑕疵在线视觉检测方法,其特征是:所述检测过程步骤三中,包括以下步骤:(1)标准无瑕疵布匹特征矩阵Feature_std(M×N)极值求取,对特征矩阵Feature_std(M×N)求取每行极大值和极小值,得到两个列向量FMax和FMin,构建极值矩阵组:Feature_Max(M×N)=FMax·ones(M×N)Feature_Min(M×N)=FMin·ones(M×N)(2)设定阈值T,对各窗口特征矩阵Feature(M×N)和上述极值矩阵组作阈值处理得到逻辑特征矩阵:FLogic=Feature<(1-T)*Feature_Min(M×N)|Feature<(1-T)*Feature_Max(M×N)如果SUM(FLogic)>3,则此窗口认定为此序列中的瑕疵。