欢迎来到知嘟嘟! 联系电话:13336804447 卖家免费入驻,海量在线求购! 卖家免费入驻,海量在线求购!
知嘟嘟
我要发布
联系电话:13336804447
知嘟嘟经纪人
收藏
专利号: 202210188424X
申请人: 江西悟上农业开发有限公司
专利类型:发明专利
专利状态:已下证
专利领域: 测量;测试
更新日期:2026-04-06
缴费截止日期: 暂无
价格&联系人
年费信息
委托购买

摘要:

权利要求书:

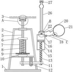
1.一种防止河流水流速度过快的监测报警装置,包括底座(1),其特征在于:所述底座(1)的上方固定安装有支架(2),所述支架(2)的上方铰接安装有阻流板(3),所述阻流板(3)的下方固定安装有铰接座(4),所述铰接座(4)的下方滑动安装有主轴(5),所述主轴(5)的中间固定安装有上挡板(6),所述上挡板(6)的下方固定安装有保护套(7),所述保护套(7)的内部固定安装有弹簧体(8),所述弹簧体(8)的下方转动安装有调节转轮(9),所述调节转轮(9)的下方固定安装有下挡板(10),所述主轴(5)的下方转动安装有连接杆(11),所述连接杆(11)的中间位置固定安装有固定座(12),所述连接杆(11)的右端转动安装有塞杆(13),所述塞杆(13)的上方固定安装有气塞(16),所述气塞(16)滑动安装在气筒(14)的内部,所述气筒(14)的下端固定安装有密封圈(15),所述气筒(14)的右端上方开有出气口(17),所述出气口(17)的右端固定安装有充气管(18),所述充气管(18)的右端固定安装有气针(19),所述气针(19)的右端固定安装有漂浮球(21),所述气筒(14)的上方滑动安装有活动环(22),所述活动环(22)上固定安装有柔性绳(20),所述气筒(14)的上端面上开有入气口(25),所述入气口(25)的内部固定安装有阀体(24),所述阀体(24)的下方滑动安装有活塞(23),所述入气口(25)的上方固定安装有入气管(26),所述入气管(26)的上方固定安装有防护罩(27);所述铰接座(4)通过螺钉固定安装在阻流板(3)的下端面,主轴(5)的上端通过螺栓与螺母铰接安装在铰接座(4)上;所述上挡板(6)固定安装在主轴(5)上,弹簧体(8)的上端安装在上挡板(6)的下端面;所述出气口(17)的内部固定安装有单向气阀;所述气针(19)与漂浮球(21)的结合处固定安装有气嘴;所述活塞(23)与阀体(24)下端之间固定安装有小弹簧,阀体(24)的下端面上开有小孔。

2.根据权利要求1所述的一种防止河流水流速度过快的监测报警装置,其特征在于:所述入气管(26)上端接近防护罩(27)的地方开有一个突出的球状结构。