欢迎来到知嘟嘟! 联系电话:13336804447 卖家免费入驻,海量在线求购! 卖家免费入驻,海量在线求购!
知嘟嘟
我要发布
联系电话:13336804447
知嘟嘟经纪人
收藏
专利号: 2024218892248
专利类型:实用新型
专利状态:未下证
专利领域: 暂无
更新日期:2025-06-11
缴费截止日期: 暂无
价格&联系人
年费信息
委托购买

摘要:

权利要求书:

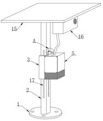
1.一种具有报警功能的河道水位监测器,包括安装座(1),其特征在于:所述安装座(1)顶部表面固定连接有立杆(2),所述立杆(2)外侧表面套嵌活动连接有套管(3),所述套管(3)内腔前后侧表面均固定连接有滑动块(4),所述套管(3)一侧表面固定连接有监测箱(5),所述监测箱(5)内腔底部固定连接有卡嵌盒(6),所述卡嵌盒(6)内腔卡嵌滑动连接有接收板(7),所述接收板(7)底部表面固定连接有漂浮球(8),所述接收板(7)内腔顶端固定连接有红外线测距传感器(9),所述监测箱(5)顶部表面固定连接有贴合板(10),所述贴合板(10)一侧表面贯穿固定连接有限位盒(11),所述限位盒(11)内腔卡嵌滑动连接有移动板(12),所述移动板(12)一侧表面贯穿固定连接有限位柱(13),所述移动板(12)一侧表面固定连接有限位弹簧(14),所述立杆(2)顶端固定连接有太阳能发电板(15),所述太阳能发电板(15)底部表面固定连接有报警盒(16)。

2.根据权利要求1所述的一种具有报警功能的河道水位监测器,其特征在于:所述立杆(2)前后侧表面均开设有滑槽(17),所述滑槽(17)与所述滑动块(4)结构尺寸相匹配。

3.根据权利要求1所述的一种具有报警功能的河道水位监测器,其特征在于:所述监测箱(5)外侧表面与所述卡嵌盒(6)外侧表面均贯穿开设有透水孔,所述监测箱(5)顶端通过密封软管固定连接于所述报警盒(16)。

4.根据权利要求1所述的一种具有报警功能的河道水位监测器,其特征在于:所述贴合板(10)一侧表面贴合滑动连接于所述立杆(2),所述贴合板(10)外侧表面为光滑抛光表面。

5.根据权利要求1所述的一种具有报警功能的河道水位监测器,其特征在于:所述立杆(2)一侧表面开设有限位孔(18),所述限位孔(18)与所述限位柱(13)结构尺寸相匹配。

6.根据权利要求1所述的一种具有报警功能的河道水位监测器,其特征在于:所述限位柱(13)一端固定连接有拉动把手(19),所述限位柱(13)远离于所述拉动把手(19)一端贯穿活动连接于所述限位盒(11)。

7.根据权利要求1所述的一种具有报警功能的河道水位监测器,其特征在于:所述报警盒(16)内腔顶部固定连接有PLC控制器(20),所述报警盒(16)内腔底部设有蓄电池(21)与声光预警器(22),所述红外线测距传感器(9)信息输出端通过电线电性连接在所述PLC控制器(20)信息输入端,所述PLC控制器(20)信息输出端通过电线电性连接在所述声光预警器(22)信息输入端。