欢迎来到知嘟嘟! 联系电话:13336804447 卖家免费入驻,海量在线求购! 卖家免费入驻,海量在线求购!
知嘟嘟
我要发布
联系电话:13336804447
知嘟嘟经纪人
收藏
专利号: 2022101508415
申请人: 深圳市润诺飞电子技术有限公司
专利类型:发明专利
专利状态:已下证
专利领域: 基本电气元件
更新日期:2024-04-30
缴费截止日期: 暂无
价格&联系人
年费信息
委托购买

摘要:

权利要求书:

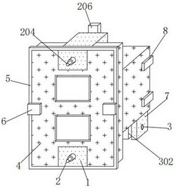
1.一种适于长时间使用的电子开关,包括外壳(1),其特征在于:所述外壳(1)的内部安装有固定机构(2);

所述固定机构(2)包括横杆(201)、粗筒(202)、弹簧(203)、把手(204)、直杆(205)和竖板(206);

所述横杆(201)的外壁与外壳(1)的外壁间隙配合,所述横杆(201)的内侧与粗筒(202)的外侧转动相连,所述横杆(201)的外壁与弹簧(203)的内壁相套接,所述弹簧(203)的外侧分别与外壳(1)的内壁和粗筒(202)的外侧黏合相连,所述横杆(201)的一端与把手(204)的外壁焊接相连,所述粗筒(202)的内壁与直杆(205)的外壁滑动卡接,所述直杆(205)的外壁与外壳(1)的外壁转动相连,所述直杆(205)的一端与竖板(206)的内侧底部焊接相连。

2.根据权利要求1所述的一种适于长时间使用的电子开关,其特征在于:所述外壳(1)的内壁顶部焊接有立杆(9),所述立杆(9)的底部与粗筒(202)的外壁曲槽滑动卡接。

3.根据权利要求1所述的一种适于长时间使用的电子开关,其特征在于:所述外壳(1)的外壁焊接有电子开关(4),所述电子开关(4)的后方黏合有护垫(8)。

4.根据权利要求3所述的一种适于长时间使用的电子开关,其特征在于:所述电子开关(4)的底部后方焊接有立板(7),所述立板(7)的内壁安装有防护结构(3);

所述防护结构(3)包括圆杆(301)、圆筒(302)和护圈(303);

所述圆杆(301)的外壁与立板(7)的内壁转动相连,所述圆杆(301)的内壁与圆筒(302)的外侧焊接相连,所述圆筒(302)的内壁上下两侧分别与护圈(303)的外壁黏合相连。

5.根据权利要求3所述的一种适于长时间使用的电子开关,其特征在于:所述电子开关(4)的外壁前方黏合有密封圈(5),所述密封圈(5)的正面黏合有宽板(6),所述宽板(6)的后端面与电子开关(4)的正面相贴合。

我要求购
我不想找了,帮我找吧
您有专利需要变现?
我要出售
智能匹配需求,快速出售