欢迎来到知嘟嘟! 联系电话:13336804447 卖家免费入驻,海量在线求购! 卖家免费入驻,海量在线求购!
知嘟嘟
我要发布
联系电话:13336804447
知嘟嘟经纪人
收藏
专利号: 2022100828558
申请人: 西安至鑫环保科技有限公司
专利类型:发明专利
专利状态:已下证
专利领域: 供热;炉灶;通风
更新日期:2024-02-29
缴费截止日期: 暂无
价格&联系人
年费信息
委托购买

摘要:

权利要求书:

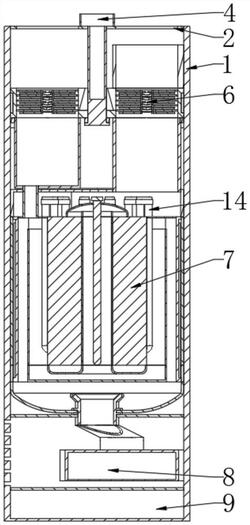
1.一种室内甲醛光触媒智能祛除设备,包括外壳(1),其特征在于:所述外壳(1)的顶部固定连接有顶部进气孔(2),所述外壳(1)的外壁底部开设有排气孔(5),所述顶部进气孔(2)的顶部连通有注水口(4),所述外壳(1)的内部由上至下依次设置有甲醛捕获装置(6)、甲醛去除装置(7)、分隔板(15)、分隔板二(16),所述甲醛捕获装置(6)的底部设置有推力轴承,且通过转动连接在外壳(1)内壁的肋板顶部,所述甲醛捕获装置(6)的顶部连通有空气加热器(3),所述空气加热器(3)固定连接在外壳(1)的内壁,所述甲醛捕获装置(6)的外部设置有传动装置(10),所述甲醛捕获装置(6)的底部连通有导气管一(11)和导气管二(12),所述导气管一(11)和导气管二(12)的底部与甲醛去除装置(7)的顶部固定连通,所述甲醛去除装置(7)的底部固定卡接有分隔板(15),所述甲醛去除装置(7)的底部固定连通有排气装置(8)和紫外线灯管(14),所述排气装置(8)位于排风仓(17)内部,所述紫外线灯管(14)穿插过分隔板(15)和分隔板二(16)与储水仓(9)相互连通。

2.根据权利要求1所述的一种室内甲醛光触媒智能祛除设备,其特征在于:所述甲醛捕获装置(6)包括固定板一(601)、定型吸水棉(602)、定型吸水棉二(603)、固定管(604)、导气板(605)、透气孔(606),所述固定板一(601)转动连接在外壳(1)的内部,所述固定板一(601)的顶部开设有均匀分布的孔,且孔内设置有固定管(604),所述内均匀分布有导气板(605),所述固定管(604)的外侧均匀分布有定型吸水棉(602)和定型吸水棉二(603)。且定型吸水棉(602)和定型吸水棉二(603)间距相等,所述导气板(605)和定型吸水棉(602)同高度,相邻所述导气板(605)的间距内开设有两层透气孔(606),且透气孔与定型吸水棉(602)和定型吸水棉二(603)的间距相互连通。

3.根据权利要求1所述的一种室内甲醛光触媒智能祛除设备,其特征在于:所述排气装置(8)包括排气管(801)、风机(802),所述排气管(801)卡接在气液导流外壳(710)的底部,所述排气管(801)的底部与风机(802)的顶部相互连通,所述风机(802)位于排风仓(17)的内部。

4.根据权利要求1所述的一种室内甲醛光触媒智能祛除设备,其特征在于:所述传动装置(10)包括电机(101)、传动轮(102)、皮带(103),所述甲醛捕获装置(6)的外侧传动连接有皮带(103),所述电机(101)固定连接在外壳(1)的内壁,所述电机(101)的顶部与传动轮(102)传动连接,所述传动轮(102)与皮带(103)传动连接,所述甲醛去除装置(7)包括盖板(701)、倒流板二(702)、导气管(703)、分隔板(704)、分割侧板(705)、圆柱导流板(706)、导热板(707)、制冷半导体(708)、密封外壳(709)、气液导流外壳(710)、倒流板三(711)、圆柱导流板二(712)、倒流板四(713)、定位板(714),所述盖板(701)的顶部与导气管一(11)和导气管二(12)的底部固定连通,所述盖板(701)的底部与密封外壳(709)的顶部固定连接,所述密封外壳(709)的内壁顶部固定连接有倒流板三(711),所述密封外壳(709)的底部与气液导流外壳(710)的顶部固定连接,所述气液导流外壳(710)固定卡接在分隔板(15)的顶部,所述气液导流外壳(710)的顶部与圆柱导流板(706)的底部通过肋板固定连接,所述圆柱导流板(706)和气液导流外壳(710)同轴线。

5.根据权利要求3所述的一种室内甲醛光触媒智能祛除设备,其特征在于:所述密封外壳(709)的内壁固定连接有导热板(707),所述导热板(707)与密封外壳(709)之间存在间隙,且间隙内阵列分布有制冷半导体(708),所述制冷半导体(708)的吸热端朝向导热板(707),所述圆柱导流板(706)的内壁的顶部通过肋板与倒流板四(713)的底部固定连接,所述倒流板四(713)的顶部固定连接有圆柱导流板二(712),所述圆柱导流板二(712)与圆柱导流板(706)同轴,所述圆柱导流板二(712)的内壁的侧壁阵列分布有分割侧板(705),所述相邻的分割侧板(705)位于圆柱导流板二(712)表面的间隙处开设有凹槽,且滑动卡接有定位板(714),所述分割侧板(705)的中部固定连接有分隔板(704),所述圆柱导流板二(712)的轴心处设置有导气管(703),且导气管(703)与分割侧板(705)固定连接。

6.根据权利要求3所述的一种室内甲醛光触媒智能祛除设备,其特征在于:所述紫外线灯管(14)插塞在圆柱导流板二(712)外壁的凹槽内以及导气管(703)的中部,且通过定位板(714)将紫外线灯管(14)卡接在圆柱导流板二(712)的外壁;

所述导气管(703)、分隔板(704)、圆柱导流板二(712)、圆柱导流板(706)将甲醛去除装置(7)分割为导风仓一(18)、导风仓二(19)、导风仓三(20)、导风仓四(21)、导风仓五(22),所述分隔板(15)和分隔板二(16)将外壳(1)分给为排风仓(17)和储水仓(9)。

7.根据权利要求3所述的一种室内甲醛光触媒智能祛除设备,其特征在于:所述分隔板(704)的顶部固定连接有倒流板二(702)将导风仓二(19)和导风仓一(18)相互连通,所述导气管(703)和圆柱导流板二(712)的底部固定连接有倒流板四(713),且将导风仓一(18)与导风仓四(21)相互连通,所述圆柱导流板二(712)和制冷半导体(708)的顶部固定连接有倒流板三(711)将导风仓四(21)和导风仓五(22)相互连通,所述导气管二(12)的底部与导水管(13)的顶部相互连通,所述导水管(13)穿插过盖板(701)和倒流板三(711)与导风仓四(21)相互连通。

8.根据权利要求3所述的一种室内甲醛光触媒智能祛除设备,其特征在于:所述导气管(703)、分隔板(704)、分割侧板(705)、圆柱导流板二(712)、圆柱导流板(706)的表面喷涂有光触媒喷剂,且上述部件材质为透明塑料板。

9.根据权利要求1所述的一种室内甲醛光触媒智能祛除设备,其特征在于:所述注水口(4)包括圆形凹槽(401)、圆柱管(402)、毛毡片(403),所述圆柱管(402)中部开设有圆形槽,所述圆柱管(402)的外部底部连通有毛毡片(403),且与圆柱管(402)相互连通,所述毛毡片(403)与定型吸水棉(602)和定型吸水棉二(603)相互接触。

10.一种室内空气净化系统,其特征在于:该室内空气净化系统需配合使用如权利要求

1‑9任一项所述的一种室内甲醛光触媒智能祛除设备。