欢迎来到知嘟嘟! 联系电话:13336804447 卖家免费入驻,海量在线求购! 卖家免费入驻,海量在线求购!
知嘟嘟
我要发布
联系电话:13336804447
知嘟嘟经纪人
收藏
专利号: 2019207130057
申请人: 济南绿芙环保科技有限公司
专利类型:实用新型
专利状态:已下证
专利领域: 供热;炉灶;通风
更新日期:2024-08-14
缴费截止日期: 暂无
价格&联系人
年费信息
委托购买

摘要:

权利要求书:

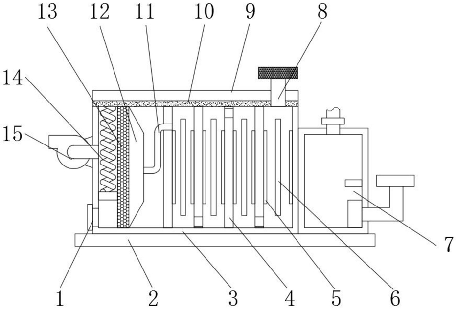
1.一种高效祛除甲醛空气净化加湿器,包括箱体(3),其特征在于,所述箱体(3)通过螺栓固定安装在底座(2)的上表面,箱体(3)的一侧通过螺栓固定安装有引风机(15),引风机(15)的输出端连通进箱体(3)的内部,箱体(3)的内部一端靠近引风机(15)的位置通过焊接的方式固定安装有竖直的漏斗罩(12),漏斗罩(12)的开口处填充有活性炭层(13),漏斗罩(12)与箱体(3)的内壁之间通过螺栓固定安装有加热管(14);

所述漏斗罩(12)的出口处与进气管道(11)的一端固定连接,进气管道(11)的另一端与竖直安装的折流板(4)的顶部固定连接,箱体(3)的内部通过焊接的方式固定安装有若干竖直的折流板(4),折流板(4)的侧面均通过螺栓固定安装有光媒触板(5),在箱体(3)内部的后端面上通过螺栓固定安装有紫外线灯(6),箱体(3)的顶部通过螺栓固定安装有密封盖(9),密封盖(9)的底面通过胶水固定安装有密封板(10),密封盖(9)远离漏斗罩(12)的一端开设有出气口(8)。

2.根据权利要求1所述的一种高效祛除甲醛空气净化加湿器,其特征在于,所述箱体(3)的一侧底部开设有开口,开口内螺纹安装有侧端盖(1)。

3.根据权利要求1所述的一种高效祛除甲醛空气净化加湿器,其特征在于,所述折流板(4)的顶部和底部间隔开设有通孔。

4.根据权利要求1所述的一种高效祛除甲醛空气净化加湿器,其特征在于,所述密封板(10)由橡胶垫制成。

5.根据权利要求1所述的一种高效祛除甲醛空气净化加湿器,其特征在于,所述出气口(8)的端口处通过螺栓固定安装有防尘网。

6.根据权利要求1所述的一种高效祛除甲醛空气净化加湿器,其特征在于,所述箱体(3)的侧面在底座(2)上表面通过螺栓固定安装有加湿器(7),加湿器(7)主要由水箱(71)、微型水泵(72)、出水管(73)、雾化器(74)、液位传感器(75)和进水管(76)构成,水箱(71)通过螺栓固定安装在底座(2)的上表面,水箱(71)的顶部与进水管(76)的一端连通,进水管(76)的另一端连通外部水源,进水管(76)上固定有电磁阀,水箱(71)的侧面底部通过螺栓固定安装有微型水泵(72),微型水泵(72)的输出端与出水管(73)的一端固定连接,出水管(73)的另一端通过螺纹连接的方式固定安装有雾化器(74),水箱(71)的内壁中部通过螺栓固定安装有液位传感器(75)。