欢迎来到知嘟嘟! 联系电话:13095918853 卖家免费入驻,海量在线求购! 卖家免费入驻,海量在线求购!
知嘟嘟
我要发布
联系电话:13095918853
知嘟嘟经纪人
收藏
专利号: 2022100822814
申请人: 中铁五局集团第二工程有限责任公司
专利类型:发明专利
专利状态:已下证
专利领域: 道路、铁路或桥梁的建筑
更新日期:2024-02-28
缴费截止日期: 暂无
价格&联系人
年费信息
委托购买

摘要:

权利要求书:

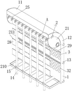
1.一种公路施工隔离装置,包括隔离体(1)、聚雾降尘机构(2)和降噪机构(3),其特征在于:所述聚雾降尘机构(2)和降噪机构(3)均设置在隔离体(1)上,所述隔离体(1)的结构包括隔离挡板(11),所述隔离挡板(11)的内部呈空心状,且隔离挡板(11)的两侧均固定连接有橡胶封板(12);

所述隔离挡板(11)的顶部呈弧形弯曲状,所述隔离挡板(11)的材料为不锈钢;

所述聚雾降尘机构(2)包括两个汇聚板(21)和水雾通管(22),所述隔离挡板(11)的内侧面固定连接有汇聚板(21),所述汇聚板(21)的表面固定连接有水雾通管(22),所述水雾通管(22)位于隔离挡板(11)顶部弯曲部位的下方;

所述水雾通管(22)的内壁固定连接有水雾缓冲膜(23),所述水雾缓冲膜(23)的表面有细密的通孔,所述水雾通管(22)的表面开设有出雾孔(24);

所述水雾通管(22)的两端均固定连接有磁吸密封垫(212);

所述汇聚板(21)的表面转动连接有旋转杆(25),所述旋转杆(25)的表面固定连接有旋转分散片(26),所述旋转分散片(26)的表面呈螺旋状,所述旋转分散片(26)的背面固定连接有逆风片(27),所述逆风片(27)的表面呈螺旋状;

所述隔离体(1)的结构还包括数个内撑杆(13)、竖杆(14)和横杆(15),所述隔离挡板(11)的内壁固定连接有数个内撑杆(13),最上方所述内撑杆(13)位于隔离挡板(11)的顶部的弧形弯曲部位,且该内撑杆(13)的表面固定连接有数个竖杆(14);

所述隔离挡板(11)内部位于最下方的内撑杆(13)的表面固定连接有数个与竖杆(14)一一对应的横杆(15),所述竖杆(14)和横杆(15)均贯穿隔离挡板(11)并延伸至隔离挡板(11)的外部,所述竖杆(14)的一端贯穿与其相对应横杆(15)并延伸至横杆(15)的底部;

所述聚雾降尘机构(2)还包括数个挡膜(28)和数个弧形缓冲板(29),所述竖杆(14)的表面固定连接有数个支撑条(211),所述支撑条(211)的表面固定连接有挡膜(28),数个挡膜(28)在竖杆(14)的表面呈等距离上下分布;

所述隔离挡板(11)的内侧面固定连接有数个弧形缓冲板(29);

所述横杆(15)的表面固定连接有集水框(210);

所述降噪机构(3)包括隔音棉(32)和若干个反射槽(31),所述隔离挡板(11)的内壁固定连接有隔音棉(32),所述隔离挡板(11)的内侧面开设有若干个反射槽(31),所述反射槽(31)的内壁呈凹陷状。

2.根据权利要求1所述的一种公路施工隔离装置,其特征在于:所述隔离挡板(11)的底部固定连接有插杆(16),所述插杆(16)和竖杆(14)均插在地下,所述内撑杆(13)的两端分别贯穿隔离挡板(11)两侧的橡胶封板(12);

所述内撑杆(13)的一端开设有深度为五厘米的对接插孔(17),另一端设置有长度为五厘米的与对接插孔(17)相对应的端头。