欢迎来到知嘟嘟! 联系电话:13336804447 卖家免费入驻,海量在线求购! 卖家免费入驻,海量在线求购!
知嘟嘟
我要发布
联系电话:13336804447
知嘟嘟经纪人
收藏
专利号: 2020204763563
申请人: 刘飞
专利类型:实用新型
专利状态:已下证
专利领域: 道路、铁路或桥梁的建筑
更新日期:2025-08-12
缴费截止日期: 暂无
价格&联系人
年费信息
委托购买

摘要:

权利要求书:

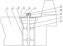
1.一种公路桥梁桥面排水设施,包括桥面本体(1)以及设置在桥面本体(1)侧沿处的泄水管(2),其特征在于:所述泄水管(2)的端口处设有安装槽(3),所述安装槽(3)内装设有盖板(4),所述盖板(4)上均布有漏孔(5),所述盖板(4)的中心位置设有穿孔(6),所述穿孔(6)内插设有加热棒(7)且加热棒(7)插入泄水管(2)内,所述泄水管(2)的内壁环形设置至少两个导热杆(8),所述导热杆(8)与加热棒(7)之间装设有导热管(9),所述加热棒(7)贯穿导热管(9)。

2.根据权利要求1所述的一种公路桥梁桥面排水设施,其特征在于:所述导热杆(8)为圆杆结构,导热管(9)为圆管结构。

3.根据权利要求1所述的一种公路桥梁桥面排水设施,其特征在于:所述盖板(4)上装设有隔管(10)且加热棒(7)的接电头位于隔管(10)内,隔管(10)上套设有软质盖(11)。

4.根据权利要求3所述的一种公路桥梁桥面排水设施,其特征在于:所述隔管(10)为圆管结构,软质盖(11)为圆盖结构。

我要求购
我不想找了,帮我找吧
您有专利需要变现?
我要出售
智能匹配需求,快速出售