欢迎来到知嘟嘟! 联系电话:13336804447 卖家免费入驻,海量在线求购! 卖家免费入驻,海量在线求购!
知嘟嘟
我要发布
联系电话:13336804447
知嘟嘟经纪人
收藏
专利号: 2021230531645
申请人: 恩平市德卡仕电声器材有限公司
专利类型:实用新型
专利状态:已下证
专利领域: 电通信技术
更新日期:2024-01-28
缴费截止日期: 暂无
价格&联系人
年费信息
委托购买

摘要:

权利要求书:

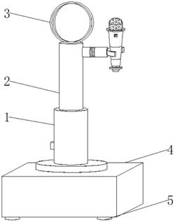
1.一种直播用一体化手持麦克风,包括主体柱(1)、伸缩柱(2)和底座(4),其特征在于:所述主体柱(1)的顶部嵌入连接有伸缩柱(2),所述主体柱(1)的底部固定连接有底座(4),所述伸缩柱(2)的底部嵌入连接有螺纹柱(6),所述螺纹柱(6)的底部活动连接有轴承(7),所述螺纹柱(6)的表面嵌套连接有从动轮(8),所述从动轮(8)的左侧活动连接有主动轮(9),所述主动轮(9)的底部活动连接有升降电机(10),所述升降电机(10)的左侧固定连接有升降开关(11),所述伸缩柱(2)的右侧顶部固定连接有连接柱(12),所述连接柱(12)的右侧固定连接有活动盘(13),所述活动盘(13)的右侧活动连接有活动柱(14),所述活动柱(14)的右侧固定连接有卡槽(15),所述卡槽(15)的表面活动连接有麦克风主体(16),所述麦克风主体(16)的底部固定连接有支柱(18),所述支柱(18)的表面嵌套连接有防护机构(19),所述支柱(18)的底端固定连接有充电层(20),所述防护机构(19)的内壁固定连接有弹簧柱(21)。

2.根据权利要求1所述的一种直播用一体化手持麦克风,其特征在于:所述麦克风主体(16)的表面固定连接有防滑套(17)。

3.根据权利要求1所述的一种直播用一体化手持麦克风,其特征在于:所述伸缩柱(2)的顶部固定连接有补光灯(3),所述底座(4)的底部固定连接有稳定盘(5),且稳定盘(5)底部为吸盘功能,对桌面进行吸附。

4.根据权利要求1所述的一种直播用一体化手持麦克风,其特征在于:所述主体柱(1)和伸缩柱(2)均呈圆柱状,且主体柱(1)内部设有圆柱状中空腔,同时圆柱状中空腔的顶面直径大于伸缩柱(2)的底面直径,伸缩柱(2)嵌在主体柱(1)的内部。

5.根据权利要求1所述的一种直播用一体化手持麦克风,其特征在于:所述主动轮(9)和从动轮(8)相互啮合。

6.根据权利要求1所述的一种直播用一体化手持麦克风,其特征在于:所述卡槽(15)为半圆状,与麦克风主体(16)表面的防滑套(17)进行卡接。

7.根据权利要求1所述的一种直播用一体化手持麦克风,其特征在于:所述防护机构(19)的截面形状为矩形,其内部围绕等距离设有六个弹簧柱(21)。