欢迎来到知嘟嘟! 联系电话:13336804447 卖家免费入驻,海量在线求购! 卖家免费入驻,海量在线求购!
知嘟嘟
我要发布
联系电话:13336804447
知嘟嘟经纪人
收藏
专利号: 2021224111497
申请人: 姜秀吉
专利类型:实用新型
专利状态:已下证
专利领域: 电通信技术
更新日期:2024-02-23
缴费截止日期: 暂无
价格&联系人
年费信息
委托购买

摘要:

权利要求书:

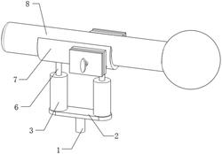
1.一种互联网直播用麦克风夹持装置,包括支撑柱(1)和麦克风主体(8),其特征在于:所述支撑柱(1)的顶部固定连接有支撑板(2),所述支撑板(2)的顶部固定连接有套筒(3),所述套筒(3)的内部设有内腔,所述套筒(3)的内腔底壁上固定连接有弹簧(4),所述套筒(3)的内腔滑动连接有滑动块(5),所述滑动块(5)的顶部固定连接有伸缩杆(6),所述伸缩杆(6)的顶部穿过套筒(3)并固定连接有支架板(7),所述支架板(7)的横截面形状为半弧形,所述麦克风主体(8)活动卡接在支架板(7)上,所述支架板(7)的两侧固定连接有四组固定杆(9),所述固定杆(9)远离支架板(7)的一端固定连接有固定板(10),所述固定板(10)远离固定杆(9)的一侧固定连接有螺母座(11),所述螺母座(11)的轴心处螺纹连接有丝杆(12),所述丝杆(12)的一端转动连接有推板(13),所述推板(13)远离丝杆(12)的一侧固定连接有橡胶弧形卡块(14),所述支架板(7)的两侧开设有与橡胶弧形卡块(14)相对应的矩形槽口,所述橡胶弧形卡块(14)穿过支架板(7)并与麦克风主体(8)相卡合。

2.根据权利要求1所述的一种互联网直播用麦克风夹持装置,其特征在于:所述弹簧(4)的顶部固定连接在滑动块(5)的底部,所述弹簧(4)处于压缩状态。

3.根据权利要求1所述的一种互联网直播用麦克风夹持装置,其特征在于:所述推板(13)上开设有四组与固定杆(9)相对应的圆孔,所述推板(13)滑动连接在固定杆(9)上。

4.根据权利要求1所述的一种互联网直播用麦克风夹持装置,其特征在于:所述丝杆(12)远离推板(13)的一端固定连接有转把(1201)。

5.根据权利要求1所述的一种互联网直播用麦克风夹持装置,其特征在于:所述推板(13)远离橡胶弧形卡块(14)的一侧固定连接有轴承(1301),所述丝杆(12)转动连接在轴承(1301)内。

6.根据权利要求1所述的一种互联网直播用麦克风夹持装置,其特征在于:所述支撑柱(1)固定在地面上,所述支撑柱(1)的底部可设置相应的底座。

我要求购
我不想找了,帮我找吧
您有专利需要变现?
我要出售
智能匹配需求,快速出售