欢迎来到知嘟嘟! 联系电话:13336804447 卖家免费入驻,海量在线求购! 卖家免费入驻,海量在线求购!
知嘟嘟
我要发布
联系电话:13336804447
知嘟嘟经纪人
收藏
专利号: 2021227169790
申请人: 成都工业学院
专利类型:实用新型
专利状态:已下证
专利领域: 测量;测试
更新日期:2024-02-28
缴费截止日期: 暂无
价格&联系人
年费信息
委托购买

摘要:

权利要求书:

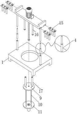
1.一种水文地质用地下水采样装置,其特征在于,包括底座(1)、支撑板(6)、电机(7)、取样瓶(13)以及升降结构;所述支撑板(6)通过支撑杆(4)安装在所述底座(1)上方,所述电机(7)安装在所述支撑板(6)上,且所述电机(7)的输出轴面朝所述底座(1)设置,所述升降结构一端连接在所述电机(7)的输出轴上,另一端与所述取样瓶(13)可拆卸连接,所述底座(1)上设有供所述升降结构穿过的第一通孔(2);所述电机(7)能够驱动所述升降结构,使得所述取样瓶(13)朝着远离或者靠近所述支撑板(6)的方向移动。

2.根据权利要求1所述的一种水文地质用地下水采样装置,其特征在于,所述升降结构包括螺纹杆(8)、第一圆盘(9)、伸缩杆(16)以及连接部,所述螺纹杆(8)与所述电机(7)的输出轴同轴固定连接,所述第一圆盘(9)螺纹连接在所述螺纹杆(8)上,所述第一圆盘(9)和所述支撑板(6)平行设置,所述伸缩杆(16)固定连接在所述第一圆盘(9)和所述支撑板(6)之间,所述连接部安装在所述第一圆盘(9)远离所述支撑板(6)的一侧,所述取样瓶(13)与所述连接部可拆卸连接。

3.根据权利要求2所述的一种水文地质用地下水采样装置,其特征在于,所述伸缩杆(16)有多个,多个所述伸缩杆(16)沿所述螺纹杆(8)的周向均匀分布。

4.根据权利要求2所述的一种水文地质用地下水采样装置,其特征在于,所述螺纹杆(8)远离所述支撑板(6)的端部连接有限位件。

5.根据权利要求4所述的一种水文地质用地下水采样装置,其特征在于,所述连接部包括连接杆(10)和第二圆盘(11),所述连接杆(10)固定连接在所述第一圆盘(9)和所述第二圆盘(11)之间,所述第二圆盘(11)上设有螺纹孔(12),所述取样瓶(13)与所述第二圆盘(11)螺纹连接。

6.根据权利要求5所述的一种水文地质用地下水采样装置,其特征在于,所述取样瓶(13)为空心结构,所述取样瓶(13)顶部设有通孔,所述通孔上安装有液压片。

7.根据权利要求5所述的一种水文地质用地下水采样装置,其特征在于,所述连接杆(10)有多个,多个所述连接杆(10)沿所述第二圆盘(11)的周向均匀分布。

8.根据权利要求1所述的一种水文地质用地下水采样装置,其特征在于,所述支撑板(6)靠近所述底座(1)的表面设置有多个滑槽(14),所述滑槽(14)滑动连接有抽板(15),所述抽板(15)用于放置量筒。

9.根据权利要求1所述的一种水文地质用地下水采样装置,其特征在于,所述支撑杆(4)为液压杆结构。

10.根据权利要求1所述的一种水文地质用地下水采样装置,其特征在于,所述底座(1)远离所述支撑板(6)的一侧设置有多个支脚。