欢迎来到知嘟嘟! 联系电话:13336804447 卖家免费入驻,海量在线求购! 卖家免费入驻,海量在线求购!
知嘟嘟
我要发布
联系电话:13336804447
知嘟嘟经纪人
收藏
专利号: 2021226179174
申请人: 王惟田
专利类型:实用新型
专利状态:已下证
专利领域: 输送;包装;贮存;搬运薄的或细丝状材料
更新日期:2025-04-21
缴费截止日期: 暂无
价格&联系人
年费信息
委托购买

摘要:

权利要求书:

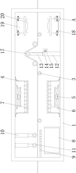
1.一种熔喷布加工用的干燥除菌装置,包括箱体(1)、传输辊(3)和加热器(6),其特征在于:所述箱体(1)的一端安装有门体(2),所述箱体(1)内部的中间位置处安装有多个传输辊(3),所述箱体(1)内部的底端和顶端均安装有安装腔(4),所述安装腔(4)的内部安装有风机(5),所述安装腔(4)内部风机(5)的一端安装有加热器(6),所述安装腔(4)的一端贯穿有出气孔(7),所述安装腔(4)的一侧设置有挤压机构,所述安装腔(4)的另一侧设置有调节机构,所述箱体(1)内部顶端与底端的一侧设置有安装座(18),所述安装座(18)上设置有安装机构,所述安装座(18)的内部安装有连接块(19),所述连接块(19)的一端安装有紫外线灭菌灯(20);

所述调节机构包括固定腔(12)、活动杆(13)、固定箱(14)、伺服电机(15)、传动齿轮(16)和调节辊(17),所述固定腔(12)安装于箱体(1)内部的底端,所述固定腔(12)的内部安装有活动杆(13),所述活动杆(13)的一端延伸至固定腔(12)的外部并安装有调节辊(17),所述固定腔(12)的一侧安装有固定箱(14),所述固定箱(14)的一端安装有伺服电机(15),所述固定箱(14)的内部安装有传动齿轮(16),所述传动齿轮(16)与活动杆(13)之间相互啮合。

2.如权利要求1所述的一种熔喷布加工用的干燥除菌装置,其特征在于:所述挤压机构包括储水箱(8)、挤压板(9)、电动伸缩杆(10)和挤压辊(11),所述储水箱(8)安装于箱体(1)内部底端的一侧,所述挤压板(9)设置于储水箱(8)的上方,所述电动伸缩杆(10)安装于箱体(1)内部的顶端,所述电动伸缩杆(10)的下方安装有挤压辊(11)。

3.如权利要求2所述的一种熔喷布加工用的干燥除菌装置,其特征在于:所述电动伸缩杆(10)设置有两个,两个所述电动伸缩杆(10)之间对称分布。

4.如权利要求2所述的一种熔喷布加工用的干燥除菌装置,其特征在于:所述挤压板(9)上设置有多个滤水孔,多个所述滤水孔之间等间距分布。

5.如权利要求1所述的一种熔喷布加工用的干燥除菌装置,其特征在于:所述安装机构包括第一安装组件和第二安装组件,所述第一安装组件包括腔体(21)、伸缩弹簧(22)和卡块(23),所述腔体(21)设置于连接块(19)的内部,所述腔体(21)的内部安装有伸缩弹簧(22),所述伸缩弹簧(22)的一端安装有卡块(23),所述第二安装组件设置于安装座(18)的两侧。

6.如权利要求5所述的一种熔喷布加工用的干燥除菌装置,其特征在于:所述第二安装组件包括按钮(24)和复位弹簧(25),所述按钮(24)贯穿于安装座(18)的两侧,所述按钮(24)的外侧壁设置有复位弹簧(25),且复位弹簧(25)设置于安装座(18)的外侧。

7.如权利要求5所述的一种熔喷布加工用的干燥除菌装置,其特征在于:所述卡块(23)设置有两个,两个所述卡块(23)之间对称分布。