欢迎来到知嘟嘟! 联系电话:13336804447 卖家免费入驻,海量在线求购! 卖家免费入驻,海量在线求购!
知嘟嘟
我要发布
联系电话:13336804447
知嘟嘟经纪人
收藏
专利号: 2021224479460
申请人: 临安学军葡萄园
专利类型:实用新型
专利状态:已下证
专利领域: 农业;林业;畜牧业;狩猎;诱捕;捕鱼
更新日期:2025-12-10
缴费截止日期: 暂无
价格&联系人
年费信息
委托购买

摘要:

权利要求书:

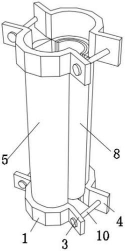
1.一种春香柑橘种植用果树防冻保温装置,包括两个夹紧结构和使用两个夹紧结构固定在果树外侧的保温结构,其特征在于,所述夹紧结构包括第一弧形固定片(1)和第二弧形固定片(2),所述第一弧形固定片(1)的两端均固定安装有第一固定凸块(3),所述第二弧形固定片(2)的两端均固定安装有第二固定凸块(4),所述第一固定凸块(3)的外侧贯穿螺纹连接有连接螺栓(10),所述第二固定凸块(4)的外侧贯穿开设有螺纹孔(11),所述连接螺栓(10)贯穿螺纹孔(11)并和螺纹孔(11)螺纹连接;

所述保温结构包括设置在两个夹紧结构之间的保温薄膜(5),且两个保温薄膜(5)相互靠近的一侧均固定连接有保温毛毡(6),两个保温毛毡(6)相互靠近的一侧均涂覆有保温涂料(7),两个保温薄膜(5)的空隙出设置有连接结构。

2.根据权利要求1所述的一种春香柑橘种植用果树防冻保温装置,其特征在于,所述连接结构包括设置在两个保温毛毡(6)空隙处的弹性连接棉带(8),所述弹性连接棉带(8)的两侧和相靠近的保温薄膜(5)的一侧均固定安装有魔术贴(9)。

3.根据权利要求1所述的一种春香柑橘种植用果树防冻保温装置,其特征在于,所述连接螺栓(10)的外侧螺纹连接有螺母(12)。

4.根据权利要求1所述的一种春香柑橘种植用果树防冻保温装置,其特征在于,所述保温涂料(7)由生石灰粉制成。

5.根据权利要求1所述的一种春香柑橘种植用果树防冻保温装置,其特征在于,所述第一弧形固定片(1)和第二弧形固定片(2)相互靠近的一侧均固定安装有弧形橡胶垫。

6.根据权利要求1所述的一种春香柑橘种植用果树防冻保温装置,其特征在于,所述第一弧形固定片(1)和第二弧形固定片(2)均由不锈钢制成。