欢迎来到知嘟嘟! 联系电话:13336804447 卖家免费入驻,海量在线求购! 卖家免费入驻,海量在线求购!
知嘟嘟
我要发布
联系电话:13336804447
知嘟嘟经纪人
收藏
专利号: 2021224477412
申请人: 临安学军葡萄园
专利类型:实用新型
专利状态:已下证
专利领域: 农业;林业;畜牧业;狩猎;诱捕;捕鱼
更新日期:2025-12-10
缴费截止日期: 暂无
价格&联系人
年费信息
委托购买

摘要:

权利要求书:

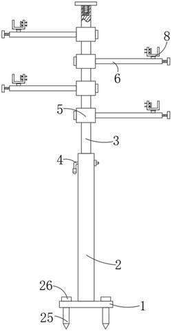
1.一种春香柑橘种植用枝条矫正支撑架,包括固定底座(1),其特征在于:所述固定底座(1)的上端固定焊接有套管(2),所述套管(2)的内部滑动插接有内杆(3),且所述内杆(3)通过固定销(4)与套管(2)限位固定,所述内杆(3)的外壁上固定套装有空心管(5),所述空心管(5)的外壁上固定焊接有支撑柱(6),所述支撑柱(6)上设置有平移组件(7),所述平移组件(7)上固定安装有用于对春香柑橘枝条进行固定的固定组件(8);

所述固定组件(8)包括匚形架(9)、插接柱(10)、压缩弹簧(11)和顶块(12),所述匚形架(9)侧壁上开设有通孔(13),所述插接柱(10)滑动插接于通孔(13)的内部,所述顶块(12)固定安装于插接柱(10)位于匚形架(9)内部的一端,且所述插接柱(10)的另一端设置有限位板(14),所述压缩弹簧(11)套装于插接柱(10)上,且所述压缩弹簧(11)的两端分别抵触于匚形架(9)内侧壁以及顶块(12)的侧壁上。

2.根据权利要求1所述的一种春香柑橘种植用枝条矫正支撑架,其特征在于:所述支撑柱(6)的上端开设有凹槽(15),所述平移组件(7)位于凹槽(15)内部,所述平移组件(7)由滚珠丝杆(16)、转动轴承(17)和旋钮(18)组成,所述转动轴承(17)嵌装固定于凹槽(15)的内侧壁上,且所述滚珠丝杆(16)的一端固定插接于转动轴承(17)的内圈,所述滚珠丝杆(16)的另一端贯穿凹槽(15)的侧壁位于支撑柱(6)的外侧,且所述旋钮(18)固定安装于滚珠丝杆(16)的另一端。

3.根据权利要求1所述的一种春香柑橘种植用枝条矫正支撑架,其特征在于:所述套管(2)上对称开设有两组第一贯穿孔(19),所述内杆(3)上等间距开设有与第一贯穿孔(19)相对应的第二贯穿孔(20),所述固定销(4)的一端依次穿过第一贯穿孔(19)和第二贯穿孔(20)并通过橡胶圈限位固定。

4.根据权利要求1所述的一种春香柑橘种植用枝条矫正支撑架,其特征在于:所述空心管(5)的一侧开设有螺纹通孔(21),所述螺纹通孔(21)的内部螺纹安装有螺杆(22),所述螺杆(22)的两端分别设置有顶头(23)和旋头,所述顶头(23)抵触于内杆(3)的外币上,所述空心管(5)内部与螺纹通孔(21)相对的内壁上固定粘合有表面粗糙的弹性橡胶垫(24)。

5.根据权利要求1所述的一种春香柑橘种植用枝条矫正支撑架,其特征在于:所述固定底座(1)的下端一体成型有用于将固定底座(1)固定在地面上的钉刺(25),且所述固定底座(1)的上表面设置有敲击块(26),所述敲击块(26)与的钉刺(25)对应设置。

6.根据权利要求2所述的一种春香柑橘种植用枝条矫正支撑架,其特征在于:所述匚形架(9)的下端通过旋转阻尼器(27)安装有连接柱(28),所述连接柱(28)的下端与滚珠丝杆(16)的丝杆座连接固定。