欢迎来到知嘟嘟! 联系电话:13336804447 卖家免费入驻,海量在线求购! 卖家免费入驻,海量在线求购!
知嘟嘟
我要发布
联系电话:13336804447
知嘟嘟经纪人
收藏
专利号: 2021218130236
申请人: 临安学军葡萄园
专利类型:实用新型
专利状态:已下证
专利领域: 农业;林业;畜牧业;狩猎;诱捕;捕鱼
更新日期:2025-12-10
缴费截止日期: 暂无
价格&联系人
年费信息
委托购买

摘要:

权利要求书:

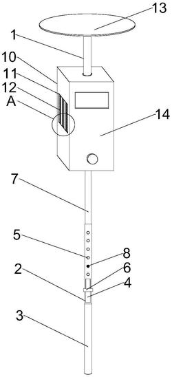
1.一种春香柑橘树枝高效率修剪设备,包括修剪设备本体(1),其特征在于:所述修剪设备本体(1)的底部设有滑杆(2),所述滑杆(2)的表面设有防滑橡胶(3)、滑口(4)和固定孔(5),所述滑杆(2)的内部设有连接杆(6)和固定杆(7),所述固定杆(7)的表面设有卡扣(8),所述固定杆(7)的内部设有回弹装置(9),所述固定杆(7)的顶部设有驱动装置(10),所述驱动装置(10)的侧面设有排气孔(11)和过滤网(12),所述驱动装置(10)的顶部设有切割刀片(13),所述驱动装置(10)的表面设有保护套(14)。

2.根据权利要求1所述的一种春香柑橘树枝高效率修剪设备,其特征在于:所述滑杆(2)设于修剪设备本体(1)的底部并且通过卡扣(8)卡接固定杆(7),所述防滑橡胶(3)包裹于滑杆(2)的外表面下端。

3.根据权利要求1所述的一种春香柑橘树枝高效率修剪设备,其特征在于:所述滑口(4)设于滑杆(2)的正面上端,所述固定孔(5)排列开设于滑杆(2)的正面上端并且与卡扣(8)卡接。

4.根据权利要求1所述的一种春香柑橘树枝高效率修剪设备,其特征在于:所述连接杆(6)设于滑杆(2)的内部上端并且连接固定杆(7)的底部,所述连接杆(6)的底部从滑口(4)中漏出,所述固定杆(7)设于滑杆(2)的内部上端并且与连接杆(6)的顶部和驱动装置(10)的底部中心连接,所述卡扣(8)设于固定杆(7)的正面下端并且与固定孔(5)卡接,所述回弹装置(9)设于固定杆(7)的内部底端并与卡扣(8)在同一水平线且与卡扣(8)连接。

5.根据权利要求1所述的一种春香柑橘树枝高效率修剪设备,其特征在于:所述驱动装置(10)设于固定杆(7)的顶部,所述排气孔(11)设于驱动装置(10)的左右两侧中心,所述过滤网(12)设于排气孔(11)的外表面。

6.根据权利要求1所述的一种春香柑橘树枝高效率修剪设备,其特征在于:所述切割刀片(13)设于驱动装置(10)的顶部,所述保护套(14)设于驱动装置(10)的外表面。