欢迎来到知嘟嘟! 联系电话:13336804447 卖家免费入驻,海量在线求购! 卖家免费入驻,海量在线求购!
知嘟嘟
我要发布
联系电话:13336804447
知嘟嘟经纪人
收藏
专利号: 2021219950054
申请人: 扬州健力机床配件有限公司
专利类型:实用新型
专利状态:已下证
专利领域: 手动工具;轻便机动工具;手动器械的手柄;车间设备;机械手
更新日期:2024-02-28
缴费截止日期: 暂无
价格&联系人
年费信息
委托购买

摘要:

权利要求书:

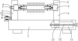
1.一种方便更换刷毛的毛刷工作台,其特征在于,包括:底板;

第一长条块,所述第一长条块固定安装在所述底板上;

第二长条块,所述第二长条块滑动安装在所述底板上;

两个固定机构,两个所述固定机构分别设置在所述第一长条块和第二长条块上,所述固定机构包括安装柱,所述安装柱与所述第一长条块和第二长条块转动连接,所述安装柱上开设有连接槽,所述连接槽内对称滑动安装有两个夹持块;

刷毛,所述刷毛活动安装在两个所述连接槽内,且所述刷毛与夹持块活动连接。

2.根据权利要求1所述的方便更换刷毛的毛刷工作台,其特征在于,所述安装柱上开设有第一腔体,所述第一腔体内对称滑动安装有两个齿条,两个所述齿条上均固定安装有连接块,所述连接块的一侧延伸至对应的所述连接槽内并与对应的所述夹持块固定连接。

3.根据权利要求2所述的方便更换刷毛的毛刷工作台,其特征在于,所述第一腔体内转动安装有转轴,所述转轴上固定安装有直齿轮,所述直齿轮与对应的两个所述齿条相啮合。

4.根据权利要求3所述的方便更换刷毛的毛刷工作台,其特征在于,所述安装柱上开设有第二腔体,所述转轴的一端延伸至对应的所述第二腔体内并固定安装有蜗轮,所述第二腔体内转动安装有蜗杆,所述蜗杆与对应的所述蜗轮相啮合。

5.根据权利要求4所述的方便更换刷毛的毛刷工作台,其特征在于,所述蜗杆上固定套设有第一锥形齿轮,所述第二腔体内转动安装有转动杆,且所述转动杆的一端延伸至第二腔体外,所述转动杆的另一端固定安装有第二锥形齿轮,所述第二锥形齿轮与第一锥形齿轮相啮合。

6.根据权利要求1所述的方便更换刷毛的毛刷工作台,其特征在于,所述第一长条块上转动安装有安装杆,所述安装杆与对应的所述安装柱固定连接,所述安装杆的一端上固定安装有第一皮带轮,所述底板上固定安装有电机,所述电机的输出轴上固定安装有第二皮带轮,所述第二皮带轮与第一皮带轮上转动套设有同一个皮带。

7.根据权利要求1所述的方便更换刷毛的毛刷工作台,其特征在于,所述底板上开设有空腔,所述空腔内转动安装有螺纹杆,且所述螺纹杆的一端延伸至空腔外,所述螺纹杆上螺纹安装有螺纹块,所述螺纹块与空腔的内壁滑动连接,所述螺纹块的顶部与第二长条块固定连接。

8.根据权利要求1所述的方便更换刷毛的毛刷工作台,其特征在于,所述连接槽的内壁上对称开设有两个滑动孔,所述夹持块上固定安装有稳定杆,所述稳定杆与对应的所述滑动孔的内壁滑动连接。