欢迎来到知嘟嘟! 联系电话:13336804447 卖家免费入驻,海量在线求购! 卖家免费入驻,海量在线求购!
知嘟嘟
我要发布
联系电话:13336804447
知嘟嘟经纪人
收藏
专利号: 2021219543221
申请人: 蔡高龙
专利类型:实用新型
专利状态:已下证
专利领域: 医学或兽医学;卫生学
更新日期:2024-02-28
缴费截止日期: 暂无
价格&联系人
年费信息
委托购买

摘要:

权利要求书:

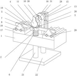
1.一种腹腔引流管放置盘,包括第一固定块(1),其特征在于:所述第一固定块(1)的上表面固定连接有第一支撑柱(2),所述第一支撑柱(2)外表面的中部套接有第三固定块(3),所述第三固定块(3)的前后两侧面均固定连接有第一转轴(4),两个所述第一转轴(4)相互远离的一端转动连接有第一固定框(5),所述第一固定框(5)的底面固定连接有弹簧(6),所述弹簧(6)的下端与第一固定块(1)的上表面固定连接,所述第一固定框(5)的左右两侧面均固定连接有第一支撑板(7),所述第一支撑板(7)的下部放置有两个相对称的第二固定框(8),两个所述第一支撑板(7)相互远离的一端均固定连接有第二转轴(9),两个所述第二转轴(9)的两端均与第二固定框(8)转动连接,所述第一支撑柱(2)的上表面固定连接有第四固定块(10),所述第四固定块(10)的上部放置有第三固定框(11),所述第四固定块(10)的前后侧面均固定连接有第三转轴(12),两个所述第三转轴(12)相互远离的一端均与第三固定框(11)转动连接,所述第一固定块(1)的上表面固定连接有第二支撑板(13),所述第二支撑板(13)的正面转动连接有第四转轴(14),所述第四转轴(14)的前端固定连接有圆盘(15),所述圆盘(15)的边缘处固定连接有固定杆(16),所述固定杆(16)的前端与第三固定框(11)固定连接。

2.根据权利要求1所述的一种腹腔引流管放置盘,其特征在于:所述第一固定块(1)的上表面固定连接有两个相对称第二固定块(17),两个所述第二固定块(17)的上表面均开设有两个相对称的第一圆弧槽(18),每个所述第一圆弧槽(18)的内部放置有引流管(19)。

3.根据权利要求1所述的一种腹腔引流管放置盘,其特征在于:两个所述第二固定框(8)的底面均开设有第二圆弧槽(20),所述第二圆弧槽(20)的内壁均与每个引流管(19)的外表面相贴合。

4.根据权利要求1所述的一种腹腔引流管放置盘,其特征在于:所述第一固定块(1)的底面固定连接有两个相对称的第二支撑柱(21),所述第二支撑柱(21)的底面固定连接有底板(22)。

5.根据权利要求1所述的一种腹腔引流管放置盘,其特征在于:所述第一固定块(1)的上表面固定连接有第一支撑块(23),所述第一支撑块(23)的上表面固定连接有电机(24),所述电机(24)的输出转轴固定连接有第一齿轮(25)。

6.根据权利要求1所述的一种腹腔引流管放置盘,其特征在于:所述第一固定块(1)的上表面固定连接有卡槽(26),所述卡槽(26)内部滑动连接有第一齿板(27),且第一齿板(27)与第一齿轮(25)相啮合,所述第一齿板(27)的上表面固定连接有第二齿板(28)。

7.根据权利要求1所述的一种腹腔引流管放置盘,其特征在于:所述第四转轴(14)的外表面固定连接有第二齿轮(29),且第二齿轮(29)与第二齿板(28)相啮合,所述第一固定块(1)的上表面固定连接有第三支撑板(30),所述第三支撑板(30)的上部开设有第三圆弧槽(31),所述第三圆弧槽(31)的内部与固定杆(16)滑动连接。

我要求购
我不想找了,帮我找吧
您有专利需要变现?
我要出售
智能匹配需求,快速出售