欢迎来到知嘟嘟! 联系电话:13336804447 卖家免费入驻,海量在线求购! 卖家免费入驻,海量在线求购!
知嘟嘟
我要发布
联系电话:13336804447
知嘟嘟经纪人
收藏
专利号: 2017108689887
申请人: 河南亚都实业有限公司
专利类型:发明专利
专利状态:已下证
专利领域: 医学或兽医学;卫生学
更新日期:2025-04-19
缴费截止日期: 暂无
价格&联系人
年费信息
委托购买

摘要:

权利要求书:

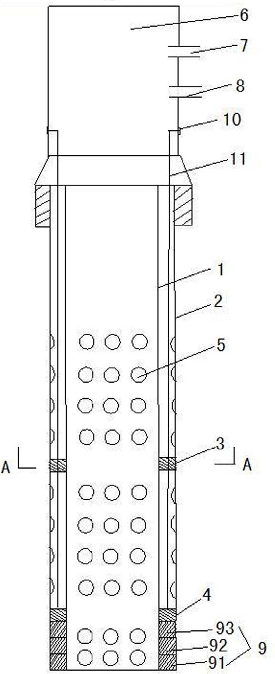
1.一种腹腔吸引管,包括双层壁管,管的外壁(2)和内壁(1)之间为空腔结构,所述的双层壁管的外壁(2)和内壁(1)上均设置有孔洞(5),其特征在于:所述的双层壁管的远端顶部为四向蛇骨管(9),所述的四向蛇骨管(9)包括前节(91)和后节(93),前节(91)和后节(93)之间至少设有一中节(92),所述的前节(91)、中节(92)和后节(93)上设有四个定位孔,并通过四根金属丝依次穿过前节(91)、中节(92)和后节的定位孔将其串接至一起;所述的四向蛇骨管(9)的后节(93)的后端设有第一环形流量计(4),所述的第一环形流量计(4)为有厚度的环形,在内圆和外圆之间填充的介质为乳胶,并在内圆和外圆之间沿径向设置四个通孔(12),所述的任意相邻的两个通孔(12)之间的位置设置压力传感器(13);所述的第一环形流量计(4)嵌固在双层壁管的内壁(1)和外壁(2)之间的空腔内;所述的第一环形流量计(4)中的压力传感器(13)的信号线与控制器连接,所述的四向蛇骨管(9)的四根金属线与电机连接,所述的电机与控制器连接,控制器实时接收第一环形流量计(4)中四个压力传感器(13)的压力值,当检测到其中的一个或两个压力传感器的压力值小于其余压力值时,控制器发送相应的控制命令至与四向蛇骨管(9)的金属丝相连的四个电机中,电机带动金属丝进行微调腹腔吸引管的头部的方向;所述的腹腔吸引管的近端尾部螺纹连接三通管(6),负压吸引管接头(7)和冲洗管接头(8)固定在三通管(6)上,所述的三通管(6)上还设有金属丝和信号线的连接接口,所述的连接接口处还设有密封圈(10)。

2.如权利要求1所述的一种腹腔吸引管,其特征在于:所述的第一环形流量计上(4)的四个通孔(12)与四向蛇骨管(9)的四个定位孔(14)的位置相对应。

3.如权利要求1所述的一种腹腔吸引管,其特征在于:所述的四向蛇骨管(9)的中节(92)分为面Ⅰ和面Ⅱ,面Ⅰ上设有两个凸起(15)和面Ⅱ上设置两个凹槽(16),所述的凸起(15)和凹槽(16)间隔设置并设置有定位孔(14),后节(93)设有与面Ⅰ凸起(15)相配合的凹槽,前节(91)设有与面Ⅱ凹槽(16)相配合的凸起。

4.如权利要求1所述的一种腹腔吸引管,其特征在于:所述的双层壁管的管身中段位置设置第二环形流量计(3)。

5.如权利要求1所述的一种腹腔吸引管,其特征在于:所述的压力传感器的信号线和四向蛇骨管(9)的金属丝上设置的有防水护套,所述的信号线与金属丝均设置在腹腔吸引管的内壁(1)和外壁(2)之间的空腔中。

6.如权利要求1或权利要求2所述的一种腹腔吸引管,其特征在于:所述的环形流量计的材质为乳胶。

我要求购
我不想找了,帮我找吧
您有专利需要变现?
我要出售
智能匹配需求,快速出售