欢迎来到知嘟嘟! 联系电话:13336804447 卖家免费入驻,海量在线求购! 卖家免费入驻,海量在线求购!
知嘟嘟
我要发布
联系电话:13336804447
知嘟嘟经纪人
收藏
专利号: 2021217639361
申请人: 深圳市智同道合工业设计有限公司
专利类型:实用新型
专利状态:已下证
专利领域: 光学
更新日期:2024-02-28
缴费截止日期: 暂无
价格&联系人
年费信息
委托购买

摘要:

权利要求书:

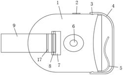
1.一种可调节防水雾VR眼镜,包括镜体(1),其特征在于:所述镜体(1)的内部安装有两个镜片(16),且镜体(1)的外部设置有遮光保护罩(4),所述遮光保护罩(4)的内壁设置有安装凸环(3),且遮光保护罩(4)通过安装凸环(3)与镜体(1)表壁的凹陷环安装在镜体(1)的输入端。

2.根据权利要求1所述的一种可调节防水雾VR眼镜,其特征在于:所述镜体(1)的输入端安装有手机固定卡扣(5),且镜体(1)的上方安装有调节钮(2),所述调节钮(2)共设置有两个,分别与两个镜片(16)相匹配。

3.根据权利要求2所述的一种可调节防水雾VR眼镜,其特征在于:所述镜体(1)的一侧设置有蓝牙开关(6)和内嵌槽(7),且内嵌槽(7)位于蓝牙开关(6)远离输入端的一侧,所述内嵌槽(7)的内部安装有第一固定杆(8)。

4.根据权利要求3所述的一种可调节防水雾VR眼镜,其特征在于:所述镜体(1)远离内嵌槽(7)的一侧开设有收纳槽(12),所述收纳槽(12)的内部安装有第二固定杆(11),且第二固定杆(11)的外部安装有松紧带(9)。

5.根据权利要求4所述的一种可调节防水雾VR眼镜,其特征在于:所述收纳槽(12)的一侧安装有转轴(13),且转轴(13)远离收纳槽(12)的一侧安装有封盖(14),所述封盖(14)的内壁安装有封盖卡扣(15)。

6.根据权利要求5所述的一种可调节防水雾VR眼镜,其特征在于:所述松紧带(9)位于第二固定杆(11)的一端设置有固定粘胶层(10),且松紧带(9)远离第二固定杆(11)的一端安装有片钩(17)。