欢迎来到知嘟嘟! 联系电话:13336804447 卖家免费入驻,海量在线求购! 卖家免费入驻,海量在线求购!
知嘟嘟
我要发布
联系电话:13336804447
知嘟嘟经纪人
收藏
专利号: 202121444221X
申请人: 四川交通职业技术学院
专利类型:实用新型
专利状态:已下证
专利领域: 家具;家庭用的物品或设备;咖啡磨;香料磨;一般吸尘器
更新日期:2023-12-11
缴费截止日期: 暂无
价格&联系人
年费信息
委托购买

摘要:

权利要求书:

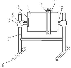
1.一种综合交通运输规划平台,其特征在于:包括规划板(1)、隐藏板(13)、固定夹(3)、卷轴机构、支架(9);

所述规划板(1)为空心结构,且所述规划板(1)一侧开设有开口,所述隐藏板(13)穿过所述开口并滑动穿设于所述规划板(1)内;

所述固定夹(3)设置在所述规划板(1)前侧面的一侧,其上夹持规划图纸及透明材质的写字膜,且所述写字膜位于所述规划图纸的上方;

所述卷轴机构包括卷轴器一(7)及卷轴器二(8),所述卷轴器一(7)和所述卷轴器二(8)均为框架型结构,并滑动穿设在所述规划板(1)上,所述卷轴器一(7)上沿长度方向可转动设有卷轴一(16),所述卷轴器二(8)上沿长度方向可转动设有卷轴二,且所述卷轴一(16)和所述卷轴二与所述固定夹(3)位于所述规划板(1)的同一侧;

所述支架(9)设置在所述规划板(1)上。

2.根据权利要求1所述的一种综合交通运输规划平台,其特征在于:所述卷轴器一(7)及所述卷轴器二(8)的上表面均设置有固定孔(15),所述卷轴一(16)的端部贯穿所述卷轴器一(7)的顶壁设置,所述卷轴二的端部贯穿所述卷轴器二(8)的顶壁设置,且所述卷轴一(16)位于所述卷轴器一(7)外部的端部及所述卷轴二位于所述卷轴器二(8)外部的端部均垂直固设有托臂(4),所述托臂(4)上设置有与所述固定孔(15)位置相对应的穿孔二,所述穿孔二及所述固定孔(15)内共同且可拆卸设有用于对所述卷轴一(16)或所述卷轴二进行限位的卡块二(17)。

3.根据权利要求1所述的一种综合交通运输规划平台,其特征在于:所述支架(9)包括一对平行设置的竖直杆,每个所述竖直杆的上端均套设有套筒(5),两个所述套筒(5)之间通过连接杆(2)连接,且所述规划板(1)固设在所述连接杆(2)上。

4.根据权利要求3所述的一种综合交通运输规划平台,其特征在于:所述竖直杆上沿高度方向设置有若干插孔(12),所述套筒(5)上设置有穿孔一,卡块一(6)同时穿过所述穿孔一及任一所述插孔(12),将所述套筒(5)与所述竖直杆可拆卸连接。

5.根据权利要求3所述的一种综合交通运输规划平台,其特征在于:所述连接杆(2)设置在所述规划板(1)的后侧面上,且所述连接杆(2)同时穿过所述卷轴器一(7)和所述卷轴器二(8)设置;所述连接杆(2)上设置有滑轨(14),所述卷轴器一(7)和所述卷轴器二(8)靠近所述滑轨(14)的一侧均设有自锁式滑轮,所述自锁式滑轮滑接在所述滑轨(14)内。

6.根据权利要求1所述的一种综合交通运输规划平台,其特征在于:所述支架(9)底部安装有自锁式滚轮(10)。

7.根据权利要求1所述的一种综合交通运输规划平台,其特征在于:所述支架(9)上设置有储物槽。

8.根据权利要求1所述的一种综合交通运输规划平台,其特征在于:所述隐藏板(13)的上表面与所述规划板(1)的顶壁之间、所述隐藏板(13)的下表面与所述规划板(1)的底壁之间均通过二节轨滑动连接,且依次贯穿所述隐藏板(13)的上表面、所述二节轨及所述规划板(1)的顶壁可拆卸穿设有限位螺栓。