欢迎来到知嘟嘟! 联系电话:13336804447 卖家免费入驻,海量在线求购! 卖家免费入驻,海量在线求购!
知嘟嘟
我要发布
联系电话:13336804447
知嘟嘟经纪人
收藏
专利号: 2021213425429
申请人: 徐州大鼎机械科技有限公司
专利类型:实用新型
专利状态:已下证
专利领域: 医学或兽医学;卫生学
更新日期:2024-02-23
缴费截止日期: 暂无
价格&联系人
年费信息
委托购买

摘要:

权利要求书:

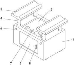
1.一种急诊科用创伤清创盘,包括箱体(1)和紧固螺栓(6),其特征在于,所述箱体(1)的正面安装有箱门(2),所述箱门(2)上固定有把手(8),所述箱体(1)的上表面设置有两组支撑组件,所述箱体(1)的上表面开设有放置槽(3),所述放置槽(3)的内底壁上开设有多个瓶槽(7),所述箱体(1)的下表面固定安装有四个固定块(11)。

2.根据权利要求1所述的一种急诊科用创伤清创盘,其特征在于,所述支撑组件包括弧形板(5),所述弧形板(5)的下表面对称固定有两个连接板(9),两个所述连接板(9)的下表面均固定有伸缩杆(4),两个所述伸缩杆(4)均通过箱体(1)上表面开设的插槽延伸到箱体(1)的内部,两个所述伸缩杆(4)上均开设有若干个螺纹孔(10),两个伸缩杆(4)均通过紧固螺栓(6)与箱体(1)固定。

3.根据权利要求2所述的一种急诊科用创伤清创盘,其特征在于,所述弧形板(5)的上表面固定设置有缓冲垫。

4.根据权利要求1所述的一种急诊科用创伤清创盘,其特征在于,每个所述固定块(11)的下表面均固定设置有防滑垫,所述防滑垫采用橡胶材料制成。

5.根据权利要求1所述的一种急诊科用创伤清创盘,其特征在于,所述箱体(1)的内顶壁上固定安装有紫光灯(15),所述箱体(1)的内侧壁上固定安装有两个电加热棒(12),所述箱体(1)的内部设置有托盘(14)。

6.根据权利要求5所述的一种急诊科用创伤清创盘,其特征在于,所述箱体(1)的内底壁上固定有四个支撑杆(13),每个所述支撑杆(13)的顶端均与托盘(14)的下表面固定。

7.根据权利要求5所述的一种急诊科用创伤清创盘,其特征在于,所述托盘(14)上均匀开设有若干个漏水孔(16)。