欢迎来到知嘟嘟! 联系电话:13336804447 卖家免费入驻,海量在线求购! 卖家免费入驻,海量在线求购!
知嘟嘟
我要发布
联系电话:13336804447
知嘟嘟经纪人
收藏
专利号: 2021212712144
申请人: 杨振静
专利类型:实用新型
专利状态:已下证
专利领域: 测量;测试
更新日期:2024-02-23
缴费截止日期: 暂无
价格&联系人
年费信息
委托购买

摘要:

权利要求书:

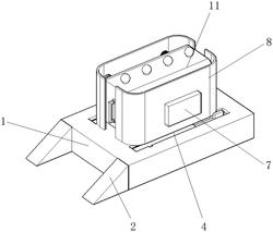
1.一种用于建筑工程的室内暖通空气质量检测装置,包括装置主体(1)、伸缩杆(4)和检测机主体(11),其特征在于:所述装置主体(1)的左侧焊接有加固块(2),且装置主体(1)内部左侧连接有转动块(3),并且装置主体(1)的上方卡合连接有限位块(6),所述转动块(3)的上方连接有伸缩杆(4),且伸缩杆(4)的一端粘贴连接有卡板(5),所述装置主体(1)的上方连接有检测机主体(11),且检测机主体(11)的两侧焊接有缓冲弹簧(9),并且缓冲弹簧(9)的外侧焊接有防护板(8)。

2.根据权利要求1所述的一种用于建筑工程的室内暖通空气质量检测装置,其特征在于:所述伸缩杆(4)与装置主体(1)的连接方式为转动连接,且伸缩杆(4)关于装置主体(1)的中轴线呈对称设置。

3.根据权利要求1所述的一种用于建筑工程的室内暖通空气质量检测装置,其特征在于:所述卡板(5)的外侧设置有与卡杆(12)、卡块(14)相对应的卡槽,且卡板(5)与安装块(7)构成拆卸结构。

4.根据权利要求1所述的一种用于建筑工程的室内暖通空气质量检测装置,其特征在于:所述防护板(8)的两侧粘贴连接有安装块(7),且安装块(7)的内部下方粘贴连接有卡杆(12),并且安装块(7)的内部两侧粘贴连接有复位弹簧(13),而且复位弹簧(13)的外侧粘贴连接有卡块(14)。

5.根据权利要求1所述的一种用于建筑工程的室内暖通空气质量检测装置,其特征在于:所述防护板(8)关于检测机主体(11)的中轴线呈对称设置,且防护板(8)的侧面呈弧面结构设置。

6.根据权利要求1所述的一种用于建筑工程的室内暖通空气质量检测装置,其特征在于:所述检测机主体(11)的外侧粘贴连接有橡胶块(10),且橡胶块(10)与缓冲弹簧(9)构成一一对应设置,并且橡胶块(10)与缓冲弹簧(9)构成卡合结构。