欢迎来到知嘟嘟! 联系电话:13336804447 卖家免费入驻,海量在线求购! 卖家免费入驻,海量在线求购!
知嘟嘟
我要发布
联系电话:13336804447
知嘟嘟经纪人
收藏
专利号: 2018215189236
申请人: 陕西助智信息技术有限公司
专利类型:实用新型
专利状态:已下证
专利领域: 测量;测试
更新日期:2025-03-24
缴费截止日期: 暂无
价格&联系人
年费信息
委托购买

摘要:

权利要求书:

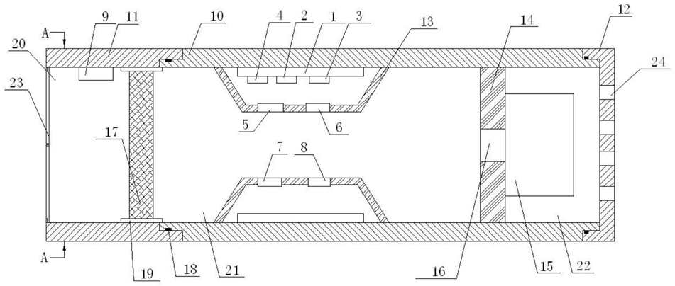
1.一种室内空气质量监测装置,包括PCB电路板(1)、WiFi模块(3)、通讯模块(4)、PM2.5传感器(9)、TVOC传感器(5)、二氧化碳传感器(6)、甲醛传感器(7)、温湿度传感器(8),所述的PM2.5传感器(9)、TVOC传感器(5)、二氧化碳传感器(6)、甲醛传感器(7)和温湿度传感器(8)分别与PCB电路板(1)上的CPU处理器(2)电连接,所述的WiFi模块(3)、通讯模块(4)设在PCB电路板(1)上与CPU处理器(2)电连接;其特征在于,还包括手持壳体,所述的手持壳体内设有的PM2.5过滤网(17)和封板(14)将手持壳体内腔分为进气腔(20)、监测腔(21)和出气腔(22),位于出气腔(22)一侧的封板(14)上设有抽风扇(15),且该封板(14)上设有将监测腔(21)与出气腔(22)连通的导气孔(16),所述的PM2.5传感器(9)设在进气腔(20)腔壁上,所述的监测腔(21)中部内设有内径为细腰状的细腰环形壳(13),所述的细腰环形壳(13)与监测腔(21)的内壁形成密封腔,所述的PCB电路板(1)设在密封腔内,所述的TVOC传感器(5)、二氧化碳传感器(6)、甲醛传感器(7)和温湿度传感器(8)镶嵌设在细腰环形壳(13)的内壁上。

2.根据权利要求1所述的一种室内空气质量监测装置,其特征在于,所述的手持壳体包括进气壳体(11)、监测壳体(10)和后盖(12),所述的进气壳体(11)、监测壳体(10)和后盖(12)分别通过螺纹连接,且所述的PM2.5过滤网(17)设在进气壳体(11)内,所述的封板(14)和细腰环形壳(13)分别设在监测壳体(10)内,且细腰环形壳(13)靠近监测壳体(10)与进气壳体(11)连接的一端,所述的后盖(12)上设有多个排气孔。

3.根据权利要求2所述的一种室内空气质量监测装置,其特征在于,所述的PM2.5过滤网(17)外固定套设有一圈螺纹环(19),该螺纹环(19)与设在进气壳体(11)内壁上设有的螺纹进行固定连接。

4.根据权利要求2所述的一种室内空气质量监测装置,其特征在于,所述的进气壳体(11)的端部活动连接有封闭门(23)。

5.根据权利要求4所述的一种室内空气质量监测装置,其特征在于,所述的封闭门(23)包括第一门页(231)和第二门页(232),所述的第一门页(231)和第二门页(232)通过连接轴(233)连接,且该连接轴(233)的两端分别固定在进气壳体(11)端部两侧的中心位置上,所述的第一门页(231)上通过螺钉(234)固定连接有第一合页(235),所述的第二门页(232)上通过螺钉(234)固定连接有第二合页(236),所述的第一合页(235)和第二合页(236)通过转轴(237)活动连接,且该转轴(237)上套设有扭簧(238),该扭簧(238)的一端压在第一合页(235)上,另一端压在第二合页(236)上;所述的第一合页(235)和第二合页(236)位于第一门页(231)和第二门页(232)的内侧。

6.根据权利要求2所述的一种室内空气质量监测装置,其特征在于,所述的进气壳体(11)与监测壳体(10)之间、监测壳体(10)与后盖(12)之间分别设有密封圈(18)。

7.根据权利要求3所述的一种室内空气质量监测装置,其特征在于,所述的圈螺纹环(19)靠近监测壳体(10)的端部延伸到进气壳体(11)外。