欢迎来到知嘟嘟! 联系电话:13336804447 卖家免费入驻,海量在线求购! 卖家免费入驻,海量在线求购!
知嘟嘟
我要发布
联系电话:13336804447
知嘟嘟经纪人
收藏
专利号: 2021206962975
申请人: 徐州工业职业技术学院
专利类型:实用新型
专利状态:已下证
专利领域: 家具;家庭用的物品或设备;咖啡磨;香料磨;一般吸尘器
更新日期:2024-05-09
缴费截止日期: 暂无
价格&联系人
年费信息
委托购买

摘要:

权利要求书:

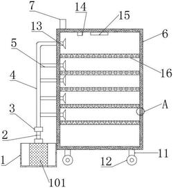
1.一种防火档案存储柜,包括储存柜(6)和柜门(8),所述储存柜(6)的前侧铰接柜门(8),其特征在于:所述储存柜(6)内壁固定连接若干等距离上下分布的隔板(16),所述储存柜(6)的侧面固定连接放置槽(1),所述放置槽(1)内安装若干等距离分布的干粉瓶(101),所述干粉瓶(101)的顶面安装第一分流管(2),所述第一分流管(2)的顶面固定连接气阀(3),所述气阀(3)的顶面固定连接喷管(4),所述喷管(4)的末端贯穿所述储存柜(6)的侧面并延伸至柜内,所述喷管(4)的侧面固定连接若干等距离分布的第二分流管(5),所述第二分流管(5)贯穿所述储存柜(6)的侧面并延伸至柜内,所述喷管(4)的末端与所述第二分流管(5)的末端均固定连接喷嘴(13),所述喷嘴(13)分布在所述隔板(16)之间,所述储存柜(6)的内壁设有防火布(18)。

2.根据权利要求1所述的一种防火档案存储柜,其特征在于:所述储存柜(6)的顶面固定连接警报器(7),所述储存柜(6)的内部顶面固定连接烟雾传感器(14),所述烟雾传感器(14)与所述警报器(7)信号连接。

3.根据权利要求1所述的一种防火档案存储柜,其特征在于:所述储存柜(6)的底面固定连接支撑腿(11),所述支撑腿(11)的底面铰接万向轮(12),并在所述万向轮(12)的外缘设置防滑纹。

4.根据权利要求1所述的一种防火档案存储柜,其特征在于:所述柜门(8)的外侧设有密码锁(10),所述柜门(8)的外侧边缘嵌有把手(9)。

5.根据权利要求1所述的一种防火档案存储柜,其特征在于:所述储存柜(6)的内部顶面固定连接照明灯(15)。

6.根据权利要求1所述的一种防火档案存储柜,其特征在于:所述柜门(8)的内侧安装干燥板(17)。