欢迎来到知嘟嘟! 联系电话:13336804447 卖家免费入驻,海量在线求购! 卖家免费入驻,海量在线求购!
知嘟嘟
我要发布
联系电话:13336804447
知嘟嘟经纪人
收藏
专利号: 2021204169739
申请人: 重庆维知达科技有限公司
专利类型:实用新型
专利状态:已下证
专利领域: 家具;家庭用的物品或设备;咖啡磨;香料磨;一般吸尘器
更新日期:2025-04-03
缴费截止日期: 暂无
价格&联系人
年费信息
委托购买

摘要:

权利要求书:

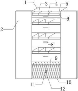
1.一种财务档案管理柜,包括档案柜,其特征在于:所述档案柜的外侧设置有柜门,所述档案柜的内部设置有第一收纳槽,所述第一收纳槽的一侧设置有第二收纳槽,所述第二收纳槽远离第一收纳槽的一侧设置有第三收纳槽,所述第一收纳槽、第二收纳槽、第三收纳槽的外侧连接有凹槽,所述凹槽的内部套接有书写栏,所述凹槽的下端连接有提手a,所述提手a的下端设置有出风口,所述出风口的下端设置有挡板,所述挡板的外壁连接有提手b,所述提手b的两侧设置有进风口,所述进风口背部设置有潮湿空气,所述潮湿空气的内部设置有除湿机,所述除湿机的顶端设置有干燥空气,所述除湿机的后端连接有水管,所述档案柜外壁的两侧均设置有散热孔。

2.根据权利要求1所述的一种财务档案管理柜,其特征在于:所述档案柜的外侧设置有柜门,所述柜门的数量设置有两组,两组所述柜门关于档案柜的中心垂直线对称分布,两组所述柜门与档案柜的连接处均设置有转动轴。

3.根据权利要求1所述的一种财务档案管理柜,其特征在于:所述档案柜的内部设置有第一收纳槽、第二收纳槽、第三收纳槽,所述第一收纳槽、第二收纳槽、第三收纳槽的数量设置有四组,四组所述第一收纳槽、第二收纳槽、第三收纳槽的大小与长度相等。

4.根据权利要求1所述的一种财务档案管理柜,其特征在于:所述第一收纳槽、第二收纳槽、第三收纳槽的外侧固定连接有凹槽,所述凹槽的内部套接有书写栏,所述书写栏的数量设置有三组,三组所述书写栏的位置分布与第一收纳槽、第二收纳槽、第三收纳槽相对应,所述凹槽的外壁固定连接有提手a,所述凹槽的两侧均设置有滑槽与其相对应的滑块。

5.根据权利要求1所述的一种财务档案管理柜,其特征在于:所述提手a的下端设置有出风口,所述出风口的表面设置有若干组孔洞,所述出风口的下端固定连接有挡板,所述挡板的外壁固定连接有提手b,所述提手b的两侧固定连接有进风口,所述进风口的外表面设置有若干组孔洞。

6.根据权利要求1所述的一种财务档案管理柜,其特征在于:所述进风口背部设置有潮湿空气,所述潮湿空气的内部固定连接有除湿机,所述除湿机的顶端设置有干燥空气,所述干燥空气的上端固定连接有出风口,所述除湿机的后端固定连接有水管,所述水管的一端连接有除湿机,所述水管的另一端贯穿于档案柜的外壁。

7.根据权利要求1所述的一种财务档案管理柜,其特征在于:所述档案柜的外侧固定连接有散热孔,所述散热孔的数量设置有两组,两组所述散热孔的表面设置有若干组孔洞。