欢迎来到知嘟嘟! 联系电话:13336804447 卖家免费入驻,海量在线求购! 卖家免费入驻,海量在线求购!
知嘟嘟
我要发布
联系电话:13336804447
知嘟嘟经纪人
收藏
专利号: 2021112263953
申请人: 冀锦俊
专利类型:发明专利
专利状态:已下证
专利领域: 医学或兽医学;卫生学
更新日期:2024-12-31
缴费截止日期: 暂无
价格&联系人
年费信息
委托购买

摘要:

权利要求书:

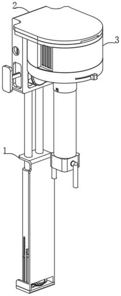
1.一种内置于VR眼镜的芳香剂缓释放装置,其特征在于,包括:第一支撑机构(1),所述第一支撑机构(1)包括底框(101)和第一调节部件,所述底框(101)顶部滑动贯穿有两个连接压杆(109),所述第一调节部件设置于底框(101)上;

第二支撑机构(2),所述第二支撑机构(2)包括顶框(201)和第二调节部件,所述顶框(201)设置于两个连接压杆(109)上,所述第二调节部件设置于顶框(201)上;以及功能机构(3),所述功能机构(3)包括导气框(301)、储物框(306)、和导气部件,所述导气框(301)通过螺纹栓固定连接于顶框(201)内部,所述储物框(306)和导气部件均设置于导气框(301)上。

2.如权利要求1所述的一种内置于VR眼镜的芳香剂缓释放装置,其特征在于:所述第一调节部件包括两个复位管(102)、两个螺纹杆(103)和支撑轴(107),两个所述复位管(102)均固定连接于底框(101)内部底面,每个所述复位管(102)一侧外表面均开设有限位槽,两个所述螺纹杆(103)和支撑轴(107)均转动连接于底框(101)内部底面,所述支撑轴(107)外表面套设有第一齿轮(108)。

3.如权利要求2所述的一种内置于VR眼镜的芳香剂缓释放装置,其特征在于:每个所述螺纹杆(103)外表面均套设有第二齿轮(106),两个所述第二齿轮(106)和第一齿轮(108)均啮合,每个所述螺纹杆(103)外表面均螺纹连接有顶片(104),每个所述顶片(104)一侧外表面均延伸至对应限位槽内部。

4.如权利要求3所述的一种内置于VR眼镜的芳香剂缓释放装置,其特征在于:每个所述螺纹杆(103)外表面均滑动套设有支撑弹簧(105),两个所述支撑弹簧(105)均位于对应顶片(104)上方,两个所述支撑弹簧(105)顶端均延伸至对应复位管(102)内部。

5.如权利要求4所述的一种内置于VR眼镜的芳香剂缓释放装置,其特征在于:两个所述连接压杆(109)外表面开设有外螺纹,两个所述连接压杆(109)底端均延伸至对应复位管(102)内部。

6.如权利要求5所述的一种内置于VR眼镜的芳香剂缓释放装置,其特征在于:所述顶框(201)底部开设有两个螺纹孔(210),每个所述螺纹孔(210)和对应连接压杆(109)通过外螺纹固定连接,所述顶框(201)前表面转动连接有调节栓(204),所述调节栓(204)外表面套设有锥形齿轮(205),所述顶框(201)内部顶面开设有进气槽,所述顶框(201)内部顶面固定连接有安装框(202),所述安装框(202)内部设置有第一风机(203)。

7.如权利要求6所述的一种内置于VR眼镜的芳香剂缓释放装置,其特征在于:所述第二调节部件包括支撑框(206),所述支撑框(206)两侧相对内表壁之间转动连接有双向螺纹栓(207),所述双向螺纹栓(207)外表面螺纹连接有两个顶管(208),两个所述顶管(208)一端均延伸顶框(201)外部,每个所述顶管(208)一端均固定连接有抵片(209),所述双向螺纹栓(207)外表面同样套设有锥形齿轮(205),两个所述锥形齿轮(205)啮合。

8.如权利要求7所述的一种内置于VR眼镜的芳香剂缓释放装置,其特征在于:所述导气框(301)一侧外表面沿水平方向等距开设有多个进气孔(302),所述导气框(301)前表面开设有移动槽,所述移动槽内部和导气框(301)内部连通,所述导气框(301)内部固定连接有隔片(303),所述隔片(303)顶部沿边缘方向等距开设有多个第一连接孔,所述隔片(303)顶部转动连接有连接轴(304)。

9.如权利要求8所述的一种内置于VR眼镜的芳香剂缓释放装置,其特征在于:所述连接轴(304)外表面套设有挡片(305),所述挡片(305)顶部沿边缘方向等距开设有多个第二连接孔,所述挡片(305)前表面固定连接有拨块,所述拨块通过移动槽延伸至导气框(301)外部。

10.如权利要求9所述的一种内置于VR眼镜的芳香剂缓释放装置,其特征在于:所述导气部件包括连接管(307)和卡管(315),所述连接管(307)固定连接于导气框(301)底部,且连接管(307)内部和导气框(301)内部连通,所述连接管(307)内部固定连接有支撑板(309),所述支撑板(309)顶部固定连接有第二风机(308),所述支撑板(309)底部固定连接有抵框(310),所述抵框(310)内部设置有复位弹簧(311),所述抵框(310)内部滑动嵌设有抵杆(312),所述抵杆(312)底端固定连接有压圈(313),所述连接管(307)两侧外表面均开设有两个卡槽(314),所述卡管(315)两侧外表面均固定连接有卡块(316),所述卡管(315)和连接管(307)通过卡槽(314)与卡块(316)固定连接,所述卡管(315)前表面和后表面均转动连接有导向管(317),两个所述导向管(317)内部和卡管(315)内部均连通。