欢迎来到知嘟嘟! 联系电话:13336804447 卖家免费入驻,海量在线求购! 卖家免费入驻,海量在线求购!
知嘟嘟
我要发布
联系电话:13336804447
知嘟嘟经纪人
收藏
专利号: 2021112041680
申请人: 沐斐同创(重庆)科技有限公司
专利类型:发明专利
专利状态:已下证
专利领域: 清洁
更新日期:2024-02-28
缴费截止日期: 暂无
价格&联系人
年费信息
委托购买

摘要:

权利要求书:

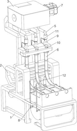
1.一种儿科呼吸管集中冲洗设备,其特征是,包括有固定架(1)、安装架(2)、框体(3)、进水管(4)、出水管(5)、放置组件(6)和混匀组件(7),固定架(1)上设有安装架(2),安装架(2)上连接有框体(3),框体(3)的一侧连接有进水管(4),框体(3)的底部连接有至少两个出水管(5),固定架(1)上设有放置限位儿科呼吸管的放置组件(6),框体(3)上设有混匀组件(7)。

2.如权利要求1所述的一种儿科呼吸管集中冲洗设备,其特征是,放置组件(6)包括有固定杆(61)、导向套(62)、挡框(63)和挡板(64),固定架(1)上连接有至少两个固定杆(61),固定杆(61)上均连接有导向套(62),固定架(1)上设有挡框(63),导向套(62)的前侧与挡框(63)相连接,挡框(63)上设有至少两个挡板(64)。

3.如权利要求2所述的一种儿科呼吸管集中冲洗设备,其特征是,混匀组件(7)包括有伺服电机(71)、转杆(72)、旋转框(73)和十字板(74),框体(3)上设有伺服电机(71),框体(3)内侧转动式连接有转杆(72),转杆(72)右侧与伺服电机(71)的输出轴相连接,转杆(72)的两侧均对称的连接有旋转框(73),旋转框(73)上均转动式连接有至少两个十字板(74)。

4.如权利要求3所述的一种儿科呼吸管集中冲洗设备,其特征是,还包括有滑动组件(8),滑动组件(8)包括有滑套(81)、异形杆(82)、第一弹簧(83)和半筒板(84),固定架(1)上连接有两个滑套(81),滑套(81)上均滑动式连接有异形杆(82),异形杆(82)与滑套(81)之间均连接有第一弹簧(83),第一弹簧(83)均套接在异形杆(82)上,异形杆(82)之间连接有半筒板(84),半筒板(84)位于挡框(63)内侧。

5.如权利要求4所述的一种儿科呼吸管集中冲洗设备,其特征是,还包括有移动组件(9),移动组件(9)包括有导筒(91)、小漏斗(92)、挡杆(93)、移动杆(94)、第二弹簧(95)、凹型块(96)和大漏斗(97),出水管(5)上均连接有导筒(91),导筒(91)上均滑动式连接有小漏斗(92),小漏斗(92)上均连接有挡杆(93),挡杆(93)能够堵住导筒(91),导筒(91)上均连接有移动杆(94),移动杆(94)与导筒(91)滑动式相连接,移动杆(94)与导筒(91)之间均连接有第二弹簧(95),第二弹簧(95)均套接在移动杆(94)上,框体(3)上设有凹型块(96),凹型块(96)上设有至少两个大漏斗(97),大漏斗(97)的底部与对应出水管(5)相连接。

6.如权利要求5所述的一种儿科呼吸管集中冲洗设备,其特征是,还包括有卡紧组件(10),卡紧组件(10)包括有固定块(101)、保护套(102)、弧形块(103)和第三弹簧(104),安装架(2)上通过螺栓固接有固定块(101),固定块(101)上设有保护套(102),固定块(101)2滑动式连接有至少两组弧形块(103),每组均由至少两个弧形块(103)以圆周方式排列,每个弧形块(103)与固定块(101)之间均连接有第三弹簧(104)。

7.如权利要求6所述的一种儿科呼吸管集中冲洗设备,其特征是,还包括有推动组件(11),推动组件(11)包括有第一齿条(111)、滑轨(112)、第二齿条(113)、圆环(114)、斜块(115)和齿轮(116),小漏斗(92)的后侧均连接有第一齿条(111),固定块(101)上连接有至少两个滑轨(112),滑轨(112)上均滑动式连接有第二齿条(113),第二齿条(113)上均连接有圆环(114),弧形块(103)上均连接有斜块(115),圆环(114)与斜块(115)接触,固定块(101)上转动式连接有至少两个齿轮(116),齿轮(116)与同侧的第一齿条(111)和第二齿条(113)啮合。

8.如权利要求7所述的一种儿科呼吸管集中冲洗设备,其特征是,还包括有固定组件(12),固定组件(12)包括有摆板(121)、L型板(122)、导轨(123)、异形块(124)、第四弹簧(125)和推杆(126),挡框(63)上转动式连接有摆板(121),摆板(121)上连接有L型板(122),挡框(63)上连接有导轨(123),导轨(123)内滑动式设有异形块(124),异形块(124)与L型板(122)接触,异形块(124)与导轨(123)之间连接有第四弹簧(125),半筒板(84)上连接有推杆(126),推杆(126)向下移动能够与异形块(124)接触。