欢迎来到知嘟嘟! 联系电话:13336804447 卖家免费入驻,海量在线求购! 卖家免费入驻,海量在线求购!
知嘟嘟
我要发布
联系电话:13336804447
知嘟嘟经纪人
收藏
专利号: 2020206057786
申请人: 韦柳萍
专利类型:实用新型
专利状态:已下证
专利领域: 医学或兽医学;卫生学
更新日期:2024-02-23
缴费截止日期: 暂无
价格&联系人
年费信息
委托购买

摘要:

权利要求书:

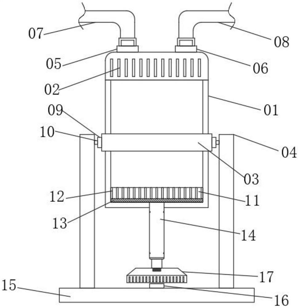
1.一种便于清洗的呼吸科吸痰装置,包括引流瓶(01),其特征在于:所述引流瓶(01)的顶部螺纹连接有护盖(02),所述护盖(02)顶部的左侧固定连通有第一对接插管(05),所述护盖(02)顶部的右侧固定连通有第二对接插管(06),所述第一对接插管(05)的顶部活动插接有引流管(07),所述第二对接插管(06)的顶部活动插接有吸气管(08),所述引流瓶(01)外表面的中央位置固定连接有固定环(03)。

2.根据权利要求1所述的一种便于清洗的呼吸科吸痰装置,其特征在于:所述固定环(03)的左右两侧均固定连接有固定块(09),两个所述固定块(09)相互远离的一侧均设置有固定杆(04),两根所述固定杆(04)相互靠近一侧与两个固定块(09)之间均通过转杆(10)连接。

3.根据权利要求2所述的一种便于清洗的呼吸科吸痰装置,其特征在于:两根所述固定杆(04)的底部均固定连接有固定底板(15),所述固定底板(15)顶部的中央位置固定连接有固定插块(16),所述固定插块(16)的俯视图形为圆形。

4.根据权利要求3所述的一种便于清洗的呼吸科吸痰装置,其特征在于:所述引流瓶(01)内腔的底部设置有密封橡胶块(13),所述密封橡胶块(13)的顶部固定连接有清洗盘(11),所述清洗盘(11)的外表面绕环形等距离固定连接有多个刮条(12)。

5.根据权利要求4所述的一种便于清洗的呼吸科吸痰装置,其特征在于:所述密封橡胶块(13)底部的中央位置固定连接有伸缩杆(14),所述伸缩杆(14)包括有子杆和母杆,该子杆的底部设置有握把(17),所述握把(17)顶部的中央位置开设有螺纹槽,该子杆底部的外表面开设有与螺纹槽相适配的螺纹。

6.根据权利要求5所述的一种便于清洗的呼吸科吸痰装置,其特征在于:所述握把(17)底部的中央位置开设有固定插槽(18),所述固定插槽(18) 的大小和形状均与固定插块(16)相适配。