欢迎来到知嘟嘟! 联系电话:13336804447 卖家免费入驻,海量在线求购! 卖家免费入驻,海量在线求购!
知嘟嘟
我要发布
联系电话:13336804447
知嘟嘟经纪人
收藏
专利号: 2021107727286
申请人: 西安工业大学
专利类型:发明专利
专利状态:已下证
专利领域: 测量;测试
更新日期:2024-01-05
缴费截止日期: 暂无
价格&联系人
年费信息
委托购买

摘要:

权利要求书:

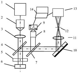
1.一种光谱扫描共焦单次曝光数字全息测量系统,其特征在于:包括测量系统本体,测量系统本体包括依次设置的多光谱光源(1)、显微物镜(2)、透镜(3)、分光镜一(4)、聚焦色散透镜(5)和待测物体(6),分光镜一(4)后方设置有分光镜二(7),分光镜二(7)前方依次设置有消色差显微物镜(8)和光纤光谱仪(9),分光镜二(7)后方设置有平面平晶(10),平面平晶(10)前方依次设置有会聚透镜(11)和滤波器(12),滤波器(12)设置在平面平晶(10)前表面反射光的会聚焦点处,滤波器(12)前方设置有图像传感器(13),光纤光谱仪(9)和图像传感器(13)分别与计算机(14)连接。

2.根据权利要求1所述的光谱扫描共焦单次曝光数字全息测量系统,其特征在于:聚焦色散透镜(5)的聚焦范围为最小波长的光λmin和最大波长的光λmax的聚焦点之间距离。

3.根据权利要求1或2所述的光谱扫描共焦单次曝光数字全息测量系统,其特征在于:

平面平晶(10)的前、后表面具有同等光学表面质量,且平面平晶(10)的后表面镀制高反射率薄膜。

4.根据权利要求3所述的光谱扫描共焦单次曝光数字全息测量系统,其特征在于:滤波器(12)设置有滤波窗口一(15)和滤波窗口二(16),滤波窗口一(15)为直径50μm的针孔,滤波窗口二(16)为直径5mm的圆孔。

5.一种采用权利要求1所述的光谱扫描共焦单次曝光数字全息测量系统的测量方法,其特征在于:包括以下步骤:

步骤一:多光谱光源(1)通过显微物镜(2)和透镜(3)的光束整形后,形成工作用平行光;该平行光经聚焦色散透镜(5)后产生色散,使得不同波长的光线在光轴上的不同位置聚焦,当待测物体置于聚焦范围内时,只有聚焦在待测物体分层界面的光线能够返回至聚焦色散透镜(5);此时待测物体(6)存在有几个分层界面,则有几个波长的光线返回至聚焦色散透镜(5),形成测试光束;

步骤二:测试光束经分光镜一(4)和分光镜二(7)后分为两束,其中经分光镜二(7)反射的光线由消色差显微物镜(8)耦合至光纤光谱仪(9),经光纤光谱仪(9)频谱分析后,确定反射回来的光线中存在的波长,从而确定待测物体分层界面的位置;经分光镜二(7)透射的光线由平面平晶(10)前、后表面反射后,经滤波器(12)形成参考光束及测试光束,在图像传感器(13)的靶面上形成离轴数字全息干涉图;

步骤三:将获得的数字全息干涉图进行预处理;首先,进行傅里叶变换得到频谱图,不同波长引入不同的载波,使得不同波长的频谱信息在频域里串扰很小;然后,设置滤波窗口提取出不同波长的+1级频谱;最后,对其进行逆傅里叶变换得到物光波的复振幅分布;

步骤四:利用数字全息角谱相位重构算法,分别获得不同波长的重构相位,从而确定待测物体不同分层界面的三维形貌。